Крупнейшая бесплатная информационно-справочная система онлайн доступа к полному собранию технических нормативно-правовых актов РФ. Огромная база технических нормативов (более 150 тысяч документов) и полное собрание национальных стандартов, аутентичное официальной базе Госстандарта. GOSTRF.com - это более 1 Терабайта бесплатной технической информации для всех пользователей интернета. Все электронные копии представленных здесь документов могут распространяться без каких-либо ограничений. Поощряется распространение информации с этого сайта на любых других ресурсах. Каждый человек имеет право на неограниченный доступ к этим документам! Каждый человек имеет право на знание требований, изложенных в данных нормативно-правовых актах!

  


 

ГОСТ Р 51401-99

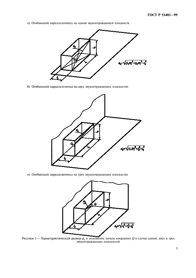
Шум машин. Определение уровней звуковой мощности источников шума по звуковому давлению. Технический метод в существенно свободном звуковом поле над звукоотражающей плоскостью

Обозначение:ГОСТ Р 51401-99
Текущий статус документа: действующий
Название документа рус.:Шум машин. Определение уровней звуковой мощности источников шума по звуковому давлению. Технический метод в существенно свободном звуковом поле над звукоотражающей плоскостью
Название документа англ.:Noise of machines. Determination of sound power levels of noise sources using sound pressure. Engineering method in an essentially free field over a reflecting plane
Дата актуализации текста:01.12.2013
Дата издания:15.02.2000
Дата введения:30.06.2000
Дата последнего изменения:22.05.2013
Область применения:Настоящий стандарт распространяется на машины, технологическое оборудование и другие источники шума (далее - источники шума), которые создают в воздушной среде все виды шумов по ГОСТ 12.1.003
ГОСТ Р 51401-99ГОСТ Р 51401-99ГОСТ Р 51401-99ГОСТ Р 51401-99ГОСТ Р 51401-99ГОСТ Р 51401-99ГОСТ Р 51401-99ГОСТ Р 51401-99ГОСТ Р 51401-99ГОСТ Р 51401-99ГОСТ Р 51401-99ГОСТ Р 51401-99ГОСТ Р 51401-99ГОСТ Р 51401-99ГОСТ Р 51401-99ГОСТ Р 51401-99ГОСТ Р 51401-99ГОСТ Р 51401-99ГОСТ Р 51401-99ГОСТ Р 51401-99ГОСТ Р 51401-99ГОСТ Р 51401-99ГОСТ Р 51401-99
 




ГОСТЫ, СТРОИТЕЛЬНЫЕ и ТЕХНИЧЕСКИЕ НОРМАТИВЫ.
Некоммерческая онлайн система, содержащая все Российские Госты, национальные Стандарты и нормативы.
В Системе содержится более 150000 файлов нормативно-технической документации, действующей на территории РФ.
Система предназначена для широкого круга инженерно-технических специалистов.

Рейтинг@Mail.ru Яндекс цитирования

Copyright © www.gostrf.com, 2008 - 2026