Крупнейшая бесплатная информационно-справочная система онлайн доступа к полному собранию технических нормативно-правовых актов РФ. Огромная база технических нормативов (более 150 тысяч документов) и полное собрание национальных стандартов, аутентичное официальной базе Госстандарта. GOSTRF.com - это более 1 Терабайта бесплатной технической информации для всех пользователей интернета. Все электронные копии представленных здесь документов могут распространяться без каких-либо ограничений. Поощряется распространение информации с этого сайта на любых других ресурсах. Каждый человек имеет право на неограниченный доступ к этим документам! Каждый человек имеет право на знание требований, изложенных в данных нормативно-правовых актах!

  


 

ГОСТ 30324.0-95

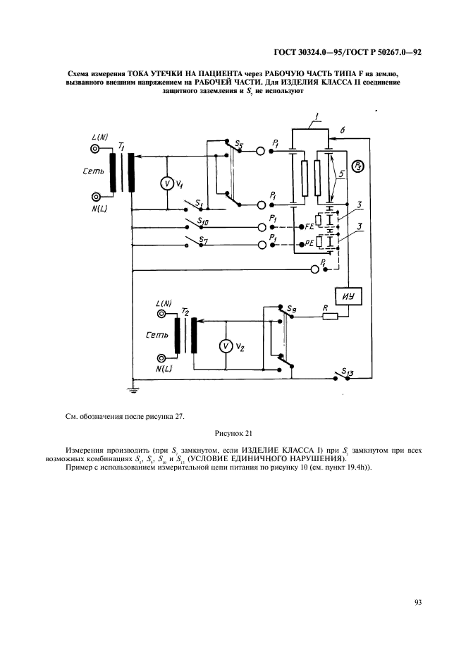
Изделия медицинские электрические. Часть 1. Общие требования безопасности

Обозначение:ГОСТ 30324.0-95
Текущий статус документа: действующий
Название документа рус.:Изделия медицинские электрические. Часть 1. Общие требования безопасности
Название документа англ.:Medical electrical equipment. Part 1. General safety requirements
Дата актуализации текста:01.12.2013
Дата издания:01.10.2009
Дата введения:30.06.1996
Дата последнего изменения:22.05.2013
Переиздание:переиздание с поправкой
Область применения:Настоящий стандарт распространяется на безопасность МЕДИЦИНСКИХ ЭЛЕКТРИЧЕСКИХ ИЗДЕЛИЙ. Так как настоящий стандарт относится в основном к безопасности, он содержит некоторые требования, касающиеся надежной работы, если это связано с безопасностью
Список изменений:№0 от 15.10.2001 (рег. 15.10.2001) «Дата введения перенесена»
№1 от 01.01.1997 (рег. 28.03.1996) «Срок действия продлен»
Приложение №1:Поправка к ГОСТ 30324.0-95
ГОСТ 30324.0-95ГОСТ 30324.0-95ГОСТ 30324.0-95ГОСТ 30324.0-95ГОСТ 30324.0-95ГОСТ 30324.0-95ГОСТ 30324.0-95ГОСТ 30324.0-95ГОСТ 30324.0-95ГОСТ 30324.0-95ГОСТ 30324.0-95ГОСТ 30324.0-95ГОСТ 30324.0-95ГОСТ 30324.0-95ГОСТ 30324.0-95ГОСТ 30324.0-95ГОСТ 30324.0-95ГОСТ 30324.0-95ГОСТ 30324.0-95ГОСТ 30324.0-95ГОСТ 30324.0-95ГОСТ 30324.0-95ГОСТ 30324.0-95ГОСТ 30324.0-95ГОСТ 30324.0-95ГОСТ 30324.0-95ГОСТ 30324.0-95ГОСТ 30324.0-95ГОСТ 30324.0-95ГОСТ 30324.0-95ГОСТ 30324.0-95ГОСТ 30324.0-95ГОСТ 30324.0-95ГОСТ 30324.0-95ГОСТ 30324.0-95ГОСТ 30324.0-95ГОСТ 30324.0-95ГОСТ 30324.0-95ГОСТ 30324.0-95ГОСТ 30324.0-95ГОСТ 30324.0-95ГОСТ 30324.0-95ГОСТ 30324.0-95ГОСТ 30324.0-95ГОСТ 30324.0-95ГОСТ 30324.0-95ГОСТ 30324.0-95ГОСТ 30324.0-95ГОСТ 30324.0-95ГОСТ 30324.0-95ГОСТ 30324.0-95ГОСТ 30324.0-95ГОСТ 30324.0-95ГОСТ 30324.0-95ГОСТ 30324.0-95ГОСТ 30324.0-95ГОСТ 30324.0-95ГОСТ 30324.0-95ГОСТ 30324.0-95ГОСТ 30324.0-95ГОСТ 30324.0-95ГОСТ 30324.0-95ГОСТ 30324.0-95ГОСТ 30324.0-95ГОСТ 30324.0-95ГОСТ 30324.0-95ГОСТ 30324.0-95ГОСТ 30324.0-95ГОСТ 30324.0-95ГОСТ 30324.0-95ГОСТ 30324.0-95ГОСТ 30324.0-95ГОСТ 30324.0-95ГОСТ 30324.0-95ГОСТ 30324.0-95ГОСТ 30324.0-95ГОСТ 30324.0-95ГОСТ 30324.0-95ГОСТ 30324.0-95ГОСТ 30324.0-95ГОСТ 30324.0-95ГОСТ 30324.0-95ГОСТ 30324.0-95ГОСТ 30324.0-95ГОСТ 30324.0-95ГОСТ 30324.0-95ГОСТ 30324.0-95ГОСТ 30324.0-95ГОСТ 30324.0-95ГОСТ 30324.0-95ГОСТ 30324.0-95ГОСТ 30324.0-95ГОСТ 30324.0-95ГОСТ 30324.0-95ГОСТ 30324.0-95ГОСТ 30324.0-95ГОСТ 30324.0-95ГОСТ 30324.0-95ГОСТ 30324.0-95ГОСТ 30324.0-95ГОСТ 30324.0-95ГОСТ 30324.0-95ГОСТ 30324.0-95ГОСТ 30324.0-95ГОСТ 30324.0-95ГОСТ 30324.0-95ГОСТ 30324.0-95ГОСТ 30324.0-95ГОСТ 30324.0-95ГОСТ 30324.0-95ГОСТ 30324.0-95ГОСТ 30324.0-95ГОСТ 30324.0-95ГОСТ 30324.0-95ГОСТ 30324.0-95ГОСТ 30324.0-95ГОСТ 30324.0-95ГОСТ 30324.0-95ГОСТ 30324.0-95ГОСТ 30324.0-95ГОСТ 30324.0-95ГОСТ 30324.0-95ГОСТ 30324.0-95ГОСТ 30324.0-95ГОСТ 30324.0-95ГОСТ 30324.0-95ГОСТ 30324.0-95ГОСТ 30324.0-95ГОСТ 30324.0-95ГОСТ 30324.0-95ГОСТ 30324.0-95ГОСТ 30324.0-95ГОСТ 30324.0-95ГОСТ 30324.0-95ГОСТ 30324.0-95ГОСТ 30324.0-95ГОСТ 30324.0-95ГОСТ 30324.0-95ГОСТ 30324.0-95ГОСТ 30324.0-95ГОСТ 30324.0-95ГОСТ 30324.0-95

Поправка к ГОСТ 30324.0-95

Обозначение:Поправка к ГОСТ 30324.0-95
Дата введения:15.10.2001


Поправка к ГОСТ 30324.0-95
 




ГОСТЫ, СТРОИТЕЛЬНЫЕ и ТЕХНИЧЕСКИЕ НОРМАТИВЫ.
Некоммерческая онлайн система, содержащая все Российские Госты, национальные Стандарты и нормативы.
В Системе содержится более 150000 файлов нормативно-технической документации, действующей на территории РФ.
Система предназначена для широкого круга инженерно-технических специалистов.

Рейтинг@Mail.ru Яндекс цитирования

Copyright © www.gostrf.com, 2008 - 2026