| |
ГОСТ 19120-93Мебель для сидения и лежания. Диваны-кровати, диваны, кресла-кровати, кресла для отдыха, кушетки, тахты, скамьи, банкетки. Методы испытаний
| Обозначение: | ГОСТ 19120-93 |
| Текущий статус документа: | действующий |
| Название документа рус.: | Мебель для сидения и лежания. Диваны-кровати, диваны, кресла-кровати, кресла для отдыха, кушетки, тахты, скамьи, банкетки. Методы испытаний | | Название документа англ.: | Furniture for seating and lying. Sofa-beds, day-beds, easy chairs, ottomens, benches, upholstery stools. Testing methods | | Дата актуализации текста: | 01.12.2013 | | Дата издания: | 11.10.1994 | | Дата введения: | 01.01.1995 | | Дата последнего изменения: | 22.05.2013 | | Область применения: | Настоящий стандарт распространяется на изделия бытовой мебели и мебели для общественных помещений, предназначенные для сидения и лежания, и устанавливает методы испытаний диванов, диванов-кроватей, кресел-кроватей, кресел для отдыха, кресел-качалок, кушеток, тахт, скамей, банкеток на:
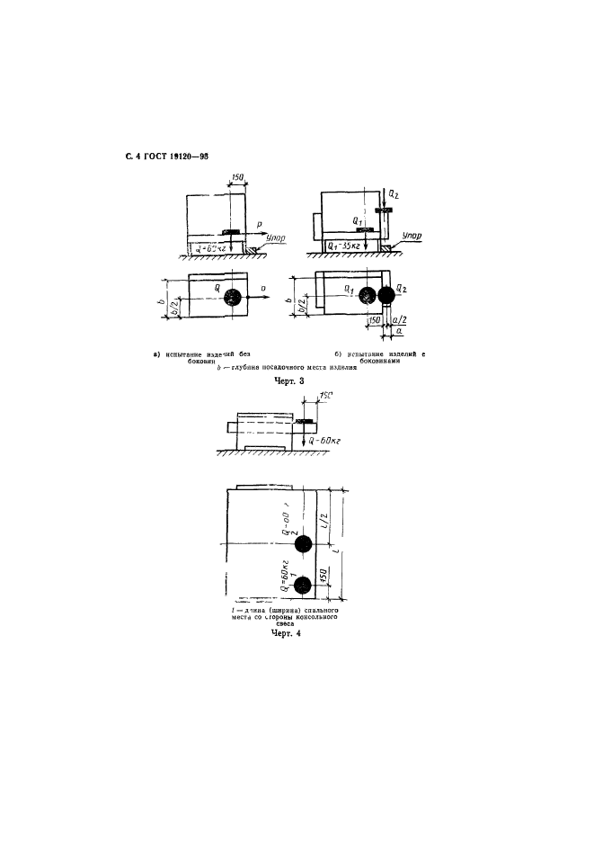
устойчивость;
статическую прочность навесных боковин;
прочность опор (ножек);
прочность основания емкости для хранения постельных принадлежностей;
долговечность элементов изделия (спинки, сиденья, боковин, беспружинных элементов спальных мест);
прочность изделия под ударной нагрузкой.
Стандарт не распространяется на шезлонги | | Список изменений: | №1 от 01.01.2009 (рег. 16.10.2008) «Текстовое изменение; Изменены ссылочные НД» | | Приложение №1: | Изменение №1 к ГОСТ 19120-93 | |
                                     
Изменение №1 к ГОСТ 19120-93
| Обозначение: | Изменение №1 к ГОСТ 19120-93 |
| Дата введения: | 01.01.2009 |
        
|
|
|