Крупнейшая бесплатная информационно-справочная система онлайн доступа к полному собранию технических нормативно-правовых актов РФ. Огромная база технических нормативов (более 150 тысяч документов) и полное собрание национальных стандартов, аутентичное официальной базе Госстандарта. GOSTRF.com - это более 1 Терабайта бесплатной технической информации для всех пользователей интернета. Все электронные копии представленных здесь документов могут распространяться без каких-либо ограничений. Поощряется распространение информации с этого сайта на любых других ресурсах. Каждый человек имеет право на неограниченный доступ к этим документам! Каждый человек имеет право на знание требований, изложенных в данных нормативно-правовых актах!

  


 

ГОСТ Р 50632-93

Водорода пероксид высококонцентрированный. Технические условия

Обозначение:ГОСТ Р 50632-93
Текущий статус документа: действующий
Название документа рус.:Водорода пероксид высококонцентрированный. Технические условия
Название документа англ.:High-strength hydrogen peroxide. Specifications
Дата актуализации текста:01.12.2013
Дата издания:04.04.1994
Дата введения:01.01.1995
Дата последнего изменения:22.05.2013
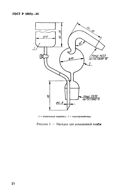
Область применения:Настоящий стандарт распространяется на высококонцентрированный пероксид водорода, содержащий в качестве стабилизаторов дифосфат натрия 10-водный и оловянно-кислый натрий, а в качестве ингибитора коррозии - азотнокислый аммоний.
Пероксид водорода применяют в качестве однокомпонентного топлива или окислительного компонента в двухкомпонентных топливах и других системах
Список изменений:№1 от 01.01.2000 (рег. 02.08.1999) «Срок действия продлен»
№2 от 01.07.2005 (рег. 03.02.2005) «Текстовое изменение; Изменены ссылочные НД»
Приложение №1:Изменение №2 к ГОСТ Р 50632-93
ГОСТ Р 50632-93ГОСТ Р 50632-93ГОСТ Р 50632-93ГОСТ Р 50632-93ГОСТ Р 50632-93ГОСТ Р 50632-93ГОСТ Р 50632-93ГОСТ Р 50632-93ГОСТ Р 50632-93ГОСТ Р 50632-93ГОСТ Р 50632-93ГОСТ Р 50632-93ГОСТ Р 50632-93ГОСТ Р 50632-93ГОСТ Р 50632-93ГОСТ Р 50632-93ГОСТ Р 50632-93ГОСТ Р 50632-93ГОСТ Р 50632-93ГОСТ Р 50632-93ГОСТ Р 50632-93ГОСТ Р 50632-93ГОСТ Р 50632-93ГОСТ Р 50632-93ГОСТ Р 50632-93ГОСТ Р 50632-93ГОСТ Р 50632-93ГОСТ Р 50632-93ГОСТ Р 50632-93ГОСТ Р 50632-93ГОСТ Р 50632-93ГОСТ Р 50632-93ГОСТ Р 50632-93ГОСТ Р 50632-93ГОСТ Р 50632-93ГОСТ Р 50632-93ГОСТ Р 50632-93ГОСТ Р 50632-93ГОСТ Р 50632-93ГОСТ Р 50632-93ГОСТ Р 50632-93ГОСТ Р 50632-93ГОСТ Р 50632-93ГОСТ Р 50632-93ГОСТ Р 50632-93ГОСТ Р 50632-93ГОСТ Р 50632-93ГОСТ Р 50632-93ГОСТ Р 50632-93ГОСТ Р 50632-93ГОСТ Р 50632-93

Изменение №2 к ГОСТ Р 50632-93

Обозначение:Изменение №2 к ГОСТ Р 50632-93
Дата введения:01.07.2005


Изменение №2 к ГОСТ Р 50632-93Изменение №2 к ГОСТ Р 50632-93Изменение №2 к ГОСТ Р 50632-93
 




ГОСТЫ, СТРОИТЕЛЬНЫЕ и ТЕХНИЧЕСКИЕ НОРМАТИВЫ.
Некоммерческая онлайн система, содержащая все Российские Госты, национальные Стандарты и нормативы.
В Системе содержится более 150000 файлов нормативно-технической документации, действующей на территории РФ.
Система предназначена для широкого круга инженерно-технических специалистов.

Рейтинг@Mail.ru Яндекс цитирования

Copyright © www.gostrf.com, 2008 - 2026