Крупнейшая бесплатная информационно-справочная система онлайн доступа к полному собранию технических нормативно-правовых актов РФ. Огромная база технических нормативов (более 150 тысяч документов) и полное собрание национальных стандартов, аутентичное официальной базе Госстандарта. GOSTRF.com - это более 1 Терабайта бесплатной технической информации для всех пользователей интернета. Все электронные копии представленных здесь документов могут распространяться без каких-либо ограничений. Поощряется распространение информации с этого сайта на любых других ресурсах. Каждый человек имеет право на неограниченный доступ к этим документам! Каждый человек имеет право на знание требований, изложенных в данных нормативно-правовых актах!

  


 

ГОСТ Р 50351.1-92

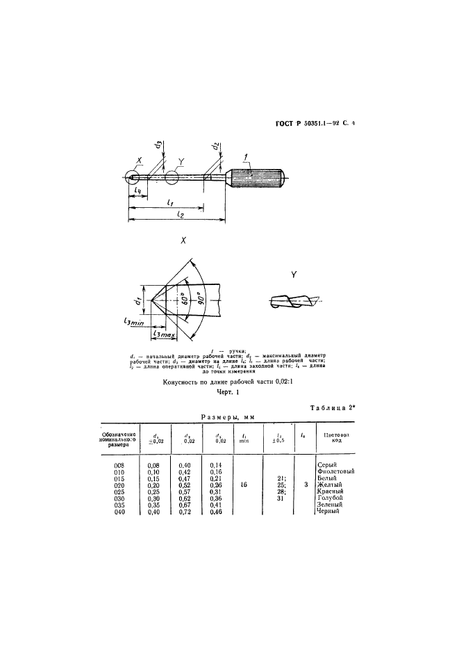
Инструменты стоматологические для лечения и обработки канала корня зуба. Часть 1. Корневые напильники, дрильборы, пульпоэкстракторы, рашпили, каналонаполнители, зонды и ватные иглы

Обозначение:ГОСТ Р 50351.1-92
Текущий статус документа: действующий
Название документа рус.:Инструменты стоматологические для лечения и обработки канала корня зуба. Часть 1. Корневые напильники, дрильборы, пульпоэкстракторы, рашпили, каналонаполнители, зонды и ватные иглы
Название документа англ.:Dental root-canal instruments. Part 1. Files reamers, barbed broaches, rasps, paste carriers, explorers and cotton broaches
Дата актуализации текста:01.12.2013
Дата издания:14.01.1993
Дата введения:01.01.1994
Дата последнего изменения:22.05.2013
Область применения:Настоящий стандарт устанавливает требования и методы испытаний для корневых напильников, дрильборов, пульпоэкстракторов, рашпилей, каналонаполнителей, зондов и ватных игл. Кроме того, в нем изложены общие технические требования и методы испытаний, дана информация по цветовому коду и идентификационным символам инструментов для лечения и обработки канала корня зуба всех типов
ГОСТ Р 50351.1-92ГОСТ Р 50351.1-92ГОСТ Р 50351.1-92ГОСТ Р 50351.1-92ГОСТ Р 50351.1-92ГОСТ Р 50351.1-92ГОСТ Р 50351.1-92ГОСТ Р 50351.1-92ГОСТ Р 50351.1-92ГОСТ Р 50351.1-92ГОСТ Р 50351.1-92ГОСТ Р 50351.1-92ГОСТ Р 50351.1-92ГОСТ Р 50351.1-92ГОСТ Р 50351.1-92ГОСТ Р 50351.1-92ГОСТ Р 50351.1-92ГОСТ Р 50351.1-92ГОСТ Р 50351.1-92ГОСТ Р 50351.1-92ГОСТ Р 50351.1-92ГОСТ Р 50351.1-92ГОСТ Р 50351.1-92ГОСТ Р 50351.1-92ГОСТ Р 50351.1-92ГОСТ Р 50351.1-92ГОСТ Р 50351.1-92ГОСТ Р 50351.1-92
 




ГОСТЫ, СТРОИТЕЛЬНЫЕ и ТЕХНИЧЕСКИЕ НОРМАТИВЫ.
Некоммерческая онлайн система, содержащая все Российские Госты, национальные Стандарты и нормативы.
В Системе содержится более 150000 файлов нормативно-технической документации, действующей на территории РФ.
Система предназначена для широкого круга инженерно-технических специалистов.

Рейтинг@Mail.ru Яндекс цитирования

Copyright © www.gostrf.com, 2008 - 2026