Крупнейшая бесплатная информационно-справочная система онлайн доступа к полному собранию технических нормативно-правовых актов РФ. Огромная база технических нормативов (более 150 тысяч документов) и полное собрание национальных стандартов, аутентичное официальной базе Госстандарта. GOSTRF.com - это более 1 Терабайта бесплатной технической информации для всех пользователей интернета. Все электронные копии представленных здесь документов могут распространяться без каких-либо ограничений. Поощряется распространение информации с этого сайта на любых других ресурсах. Каждый человек имеет право на неограниченный доступ к этим документам! Каждый человек имеет право на знание требований, изложенных в данных нормативно-правовых актах!

  


 

ГОСТ Р 50039-92

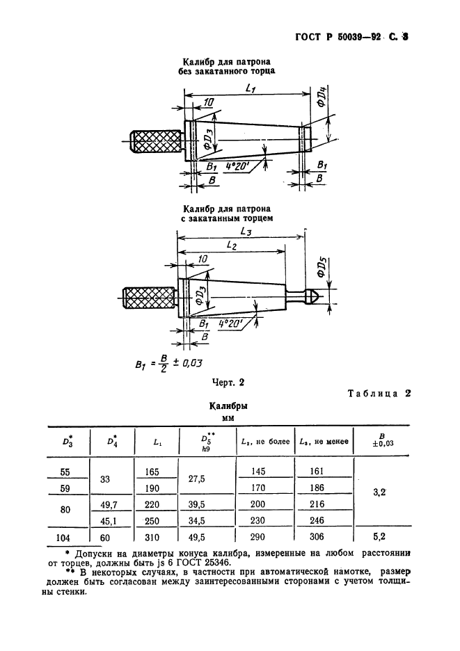
Машины текстильные и оборудование вспомогательное. Патроны конические для намотки пряжи (крестовая намотка). Половина угла конуса 4 град. угл. 20'. Размеры и методы контроля

Обозначение:ГОСТ Р 50039-92
Текущий статус документа: действующий
Название документа рус.:Машины текстильные и оборудование вспомогательное. Патроны конические для намотки пряжи (крестовая намотка). Половина угла конуса 4 град. угл. 20'. Размеры и методы контроля
Название документа англ.:Textile machinery and accessories. Cones for yarn winding (cross wound). Half angle of the cone 4 degrees 20'. Dimensions and checking methods
Дата актуализации текста:01.12.2013
Дата издания:01.09.1992
Дата введения:30.06.1993
Дата последнего изменения:22.05.2013
Область применения:Настоящий стандарт устанавливает размеры и допуски конических патронов для намотки пряжи (крестовая намотка), имеющих половину угла конуса 4 град. 20“, а также размеры и допуски калибров для проверки этих патронов
ГОСТ Р 50039-92ГОСТ Р 50039-92ГОСТ Р 50039-92ГОСТ Р 50039-92ГОСТ Р 50039-92ГОСТ Р 50039-92
 




ГОСТЫ, СТРОИТЕЛЬНЫЕ и ТЕХНИЧЕСКИЕ НОРМАТИВЫ.
Некоммерческая онлайн система, содержащая все Российские Госты, национальные Стандарты и нормативы.
В Системе содержится более 150000 файлов нормативно-технической документации, действующей на территории РФ.
Система предназначена для широкого круга инженерно-технических специалистов.

Рейтинг@Mail.ru Яндекс цитирования

Copyright © www.gostrf.com, 2008 - 2026