Крупнейшая бесплатная информационно-справочная система онлайн доступа к полному собранию технических нормативно-правовых актов РФ. Огромная база технических нормативов (более 150 тысяч документов) и полное собрание национальных стандартов, аутентичное официальной базе Госстандарта. GOSTRF.com - это более 1 Терабайта бесплатной технической информации для всех пользователей интернета. Все электронные копии представленных здесь документов могут распространяться без каких-либо ограничений. Поощряется распространение информации с этого сайта на любых других ресурсах. Каждый человек имеет право на неограниченный доступ к этим документам! Каждый человек имеет право на знание требований, изложенных в данных нормативно-правовых актах!

  


 

ГОСТ Р 50044-92

Микросхемы интегральные и приборы полупроводниковые для поверхностного монтажа. Требования к конструкции

Обозначение:ГОСТ Р 50044-92
Текущий статус документа: заменён
Название документа рус.:Микросхемы интегральные и приборы полупроводниковые для поверхностного монтажа. Требования к конструкции
Название документа англ.:Integrated microcircuits and semiconductor device service mounted technology. Requirements to packages
Дата актуализации текста:01.12.2013
Дата издания:01.09.1994
Дата введения:01.07.1993
Дата последнего изменения:22.05.2013
Дата окончания срока действия:01.01.2011
Переиздание:переиздание
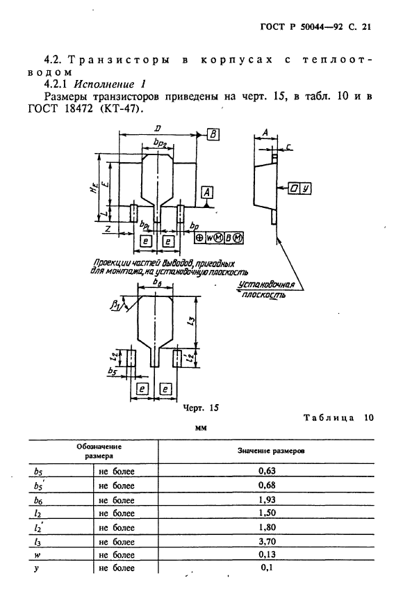
Область применения:Настоящий стандарт распространяется на интегральные микросхемы (ИС) и полупроводниковые приборы (ПП), предназначенные для использования в технологии поверхностного монтажа, и устанавливает требования к их перспективным конструкциям и выбору унифицированных размеров.
Стандарт является обязательным документом при разработке изделий для поверхностного монтажа, обеспечивающих выполнение требований автоматизированной сборки аппаратуры
ГОСТ Р 50044-92ГОСТ Р 50044-92ГОСТ Р 50044-92ГОСТ Р 50044-92ГОСТ Р 50044-92ГОСТ Р 50044-92ГОСТ Р 50044-92ГОСТ Р 50044-92ГОСТ Р 50044-92ГОСТ Р 50044-92ГОСТ Р 50044-92ГОСТ Р 50044-92ГОСТ Р 50044-92ГОСТ Р 50044-92ГОСТ Р 50044-92ГОСТ Р 50044-92ГОСТ Р 50044-92ГОСТ Р 50044-92ГОСТ Р 50044-92ГОСТ Р 50044-92ГОСТ Р 50044-92ГОСТ Р 50044-92ГОСТ Р 50044-92ГОСТ Р 50044-92ГОСТ Р 50044-92ГОСТ Р 50044-92ГОСТ Р 50044-92ГОСТ Р 50044-92ГОСТ Р 50044-92
 




ГОСТЫ, СТРОИТЕЛЬНЫЕ и ТЕХНИЧЕСКИЕ НОРМАТИВЫ.
Некоммерческая онлайн система, содержащая все Российские Госты, национальные Стандарты и нормативы.
В Системе содержится более 150000 файлов нормативно-технической документации, действующей на территории РФ.
Система предназначена для широкого круга инженерно-технических специалистов.

Рейтинг@Mail.ru Яндекс цитирования

Copyright © www.gostrf.com, 2008 - 2026