Крупнейшая бесплатная информационно-справочная система онлайн доступа к полному собранию технических нормативно-правовых актов РФ. Огромная база технических нормативов (более 150 тысяч документов) и полное собрание национальных стандартов, аутентичное официальной базе Госстандарта. GOSTRF.com - это более 1 Терабайта бесплатной технической информации для всех пользователей интернета. Все электронные копии представленных здесь документов могут распространяться без каких-либо ограничений. Поощряется распространение информации с этого сайта на любых других ресурсах. Каждый человек имеет право на неограниченный доступ к этим документам! Каждый человек имеет право на знание требований, изложенных в данных нормативно-правовых актах!

  


 

ГОСТ Р 50267.2-92

Изделия медицинские электрические. Часть 2. Частные требования безопасности к высокочастотным электрохирургическим аппаратам

Обозначение:ГОСТ Р 50267.2-92
Текущий статус документа: действующий
Название документа рус.:Изделия медицинские электрические. Часть 2. Частные требования безопасности к высокочастотным электрохирургическим аппаратам
Название документа англ.:Medical electrical equipment. Part 2. Particular requirements for the safety of high frequency surgical equipment
Дата актуализации текста:01.12.2013
Дата издания:28.12.1992
Дата введения:30.06.1993
Дата последнего изменения:22.05.2013
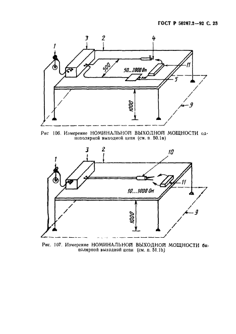
Область применения:Настоящий стандарт устанавливает требования безопасности к ВЫСОКОЧАСТОТНЫМ ЭЛЕКТРОХИРУРГИЧЕСКИМ АППАРАТАМ, используемым в медицинской практике, которые далее называются “АППАРАТЫ“.
На АППАРАТЫ с номинальной мощностью, не привышающей 50 Вт (например, для микрокоагуляции или при использовании в стоматалогии и офтальмологии), не распространяется ряд требований настоящего стандарта. Эти исключения отмечены в соответствующих требованиях
Список изменений:№0 от 07.04.1993 (рег. 07.04.1993) «Утратил силу в РФ»
№1 от 01.01.1997 (рег. 11.04.1996) «Срок действия продлен»
Приложение №1:Изменение №1 к ГОСТ Р 50267.2-92
ГОСТ Р 50267.2-92ГОСТ Р 50267.2-92ГОСТ Р 50267.2-92ГОСТ Р 50267.2-92ГОСТ Р 50267.2-92ГОСТ Р 50267.2-92ГОСТ Р 50267.2-92ГОСТ Р 50267.2-92ГОСТ Р 50267.2-92ГОСТ Р 50267.2-92ГОСТ Р 50267.2-92ГОСТ Р 50267.2-92ГОСТ Р 50267.2-92ГОСТ Р 50267.2-92ГОСТ Р 50267.2-92ГОСТ Р 50267.2-92ГОСТ Р 50267.2-92ГОСТ Р 50267.2-92ГОСТ Р 50267.2-92ГОСТ Р 50267.2-92ГОСТ Р 50267.2-92ГОСТ Р 50267.2-92ГОСТ Р 50267.2-92ГОСТ Р 50267.2-92ГОСТ Р 50267.2-92ГОСТ Р 50267.2-92ГОСТ Р 50267.2-92ГОСТ Р 50267.2-92ГОСТ Р 50267.2-92ГОСТ Р 50267.2-92ГОСТ Р 50267.2-92ГОСТ Р 50267.2-92ГОСТ Р 50267.2-92ГОСТ Р 50267.2-92ГОСТ Р 50267.2-92ГОСТ Р 50267.2-92ГОСТ Р 50267.2-92ГОСТ Р 50267.2-92ГОСТ Р 50267.2-92ГОСТ Р 50267.2-92ГОСТ Р 50267.2-92

Изменение №1 к ГОСТ Р 50267.2-92

Обозначение:Изменение №1 к ГОСТ Р 50267.2-92
Дата введения:01.01.1997


Изменение №1 к ГОСТ Р 50267.2-92Изменение №1 к ГОСТ Р 50267.2-92Изменение №1 к ГОСТ Р 50267.2-92Изменение №1 к ГОСТ Р 50267.2-92Изменение №1 к ГОСТ Р 50267.2-92Изменение №1 к ГОСТ Р 50267.2-92Изменение №1 к ГОСТ Р 50267.2-92
 




ГОСТЫ, СТРОИТЕЛЬНЫЕ и ТЕХНИЧЕСКИЕ НОРМАТИВЫ.
Некоммерческая онлайн система, содержащая все Российские Госты, национальные Стандарты и нормативы.
В Системе содержится более 150000 файлов нормативно-технической документации, действующей на территории РФ.
Система предназначена для широкого круга инженерно-технических специалистов.

Рейтинг@Mail.ru Яндекс цитирования

Copyright © www.gostrf.com, 2008 - 2026