Крупнейшая бесплатная информационно-справочная система онлайн доступа к полному собранию технических нормативно-правовых актов РФ. Огромная база технических нормативов (более 150 тысяч документов) и полное собрание национальных стандартов, аутентичное официальной базе Госстандарта. GOSTRF.com - это более 1 Терабайта бесплатной технической информации для всех пользователей интернета. Все электронные копии представленных здесь документов могут распространяться без каких-либо ограничений. Поощряется распространение информации с этого сайта на любых других ресурсах. Каждый человек имеет право на неограниченный доступ к этим документам! Каждый человек имеет право на знание требований, изложенных в данных нормативно-правовых актах!

  


 

ГОСТ Р 50392-92

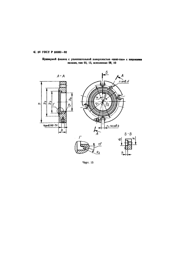
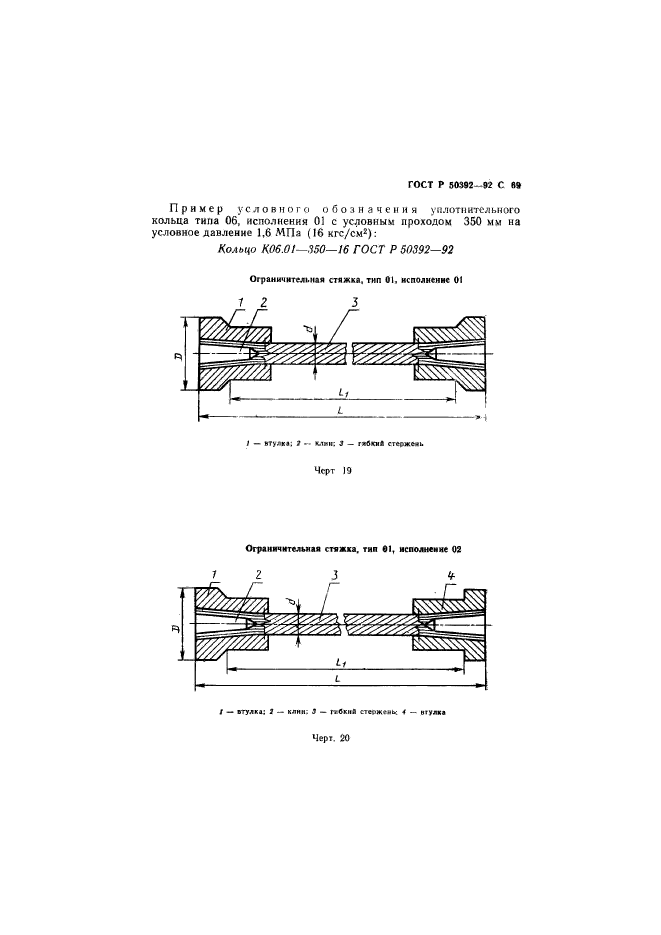
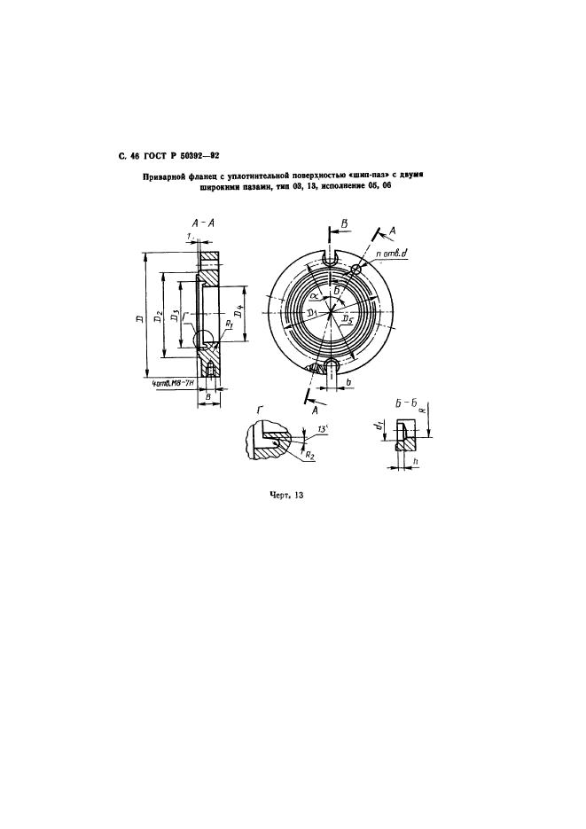
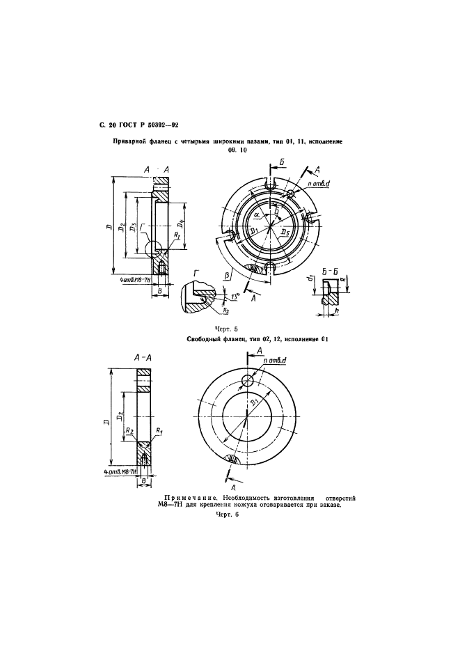
Арматура для компенсаторов и уплотнений сильфонных металлических. Типы, основные параметры и размеры, общие технические требования

Обозначение:ГОСТ Р 50392-92
Текущий статус документа: действующий
Название документа рус.:Арматура для компенсаторов и уплотнений сильфонных металлических. Типы, основные параметры и размеры, общие технические требования
Название документа англ.:Fittings for metal bellows expansion joints and seals. Types, main parameters and dimensions. General specifications
Дата актуализации текста:01.12.2013
Дата издания:04.02.1993
Дата введения:30.06.1993
Дата последнего изменения:22.05.2013
Область применения:Настоящий стандарт распространяется на присоединительную и ограничительную арматуру сильфонных металлических компенсаторов и уплотнений, применяемую для соединения их с сопрягаемыми деталями объектов применения, а также для ограничения перемещений в каком-либо направлении (направлениях). Положения, нормы и требования, установленные настоящим стандартом, учитываются при разработке конструкторской и нормативно-технической документации на данную продукцию
ГОСТ Р 50392-92ГОСТ Р 50392-92ГОСТ Р 50392-92ГОСТ Р 50392-92ГОСТ Р 50392-92ГОСТ Р 50392-92ГОСТ Р 50392-92ГОСТ Р 50392-92ГОСТ Р 50392-92ГОСТ Р 50392-92ГОСТ Р 50392-92ГОСТ Р 50392-92ГОСТ Р 50392-92ГОСТ Р 50392-92ГОСТ Р 50392-92ГОСТ Р 50392-92ГОСТ Р 50392-92ГОСТ Р 50392-92ГОСТ Р 50392-92ГОСТ Р 50392-92ГОСТ Р 50392-92ГОСТ Р 50392-92ГОСТ Р 50392-92ГОСТ Р 50392-92ГОСТ Р 50392-92ГОСТ Р 50392-92ГОСТ Р 50392-92ГОСТ Р 50392-92ГОСТ Р 50392-92ГОСТ Р 50392-92ГОСТ Р 50392-92ГОСТ Р 50392-92ГОСТ Р 50392-92ГОСТ Р 50392-92ГОСТ Р 50392-92ГОСТ Р 50392-92ГОСТ Р 50392-92ГОСТ Р 50392-92ГОСТ Р 50392-92ГОСТ Р 50392-92ГОСТ Р 50392-92ГОСТ Р 50392-92ГОСТ Р 50392-92ГОСТ Р 50392-92ГОСТ Р 50392-92ГОСТ Р 50392-92ГОСТ Р 50392-92ГОСТ Р 50392-92ГОСТ Р 50392-92ГОСТ Р 50392-92ГОСТ Р 50392-92ГОСТ Р 50392-92ГОСТ Р 50392-92ГОСТ Р 50392-92ГОСТ Р 50392-92ГОСТ Р 50392-92ГОСТ Р 50392-92ГОСТ Р 50392-92ГОСТ Р 50392-92ГОСТ Р 50392-92ГОСТ Р 50392-92ГОСТ Р 50392-92ГОСТ Р 50392-92ГОСТ Р 50392-92ГОСТ Р 50392-92ГОСТ Р 50392-92ГОСТ Р 50392-92ГОСТ Р 50392-92ГОСТ Р 50392-92ГОСТ Р 50392-92ГОСТ Р 50392-92ГОСТ Р 50392-92ГОСТ Р 50392-92ГОСТ Р 50392-92ГОСТ Р 50392-92ГОСТ Р 50392-92ГОСТ Р 50392-92
 




ГОСТЫ, СТРОИТЕЛЬНЫЕ и ТЕХНИЧЕСКИЕ НОРМАТИВЫ.
Некоммерческая онлайн система, содержащая все Российские Госты, национальные Стандарты и нормативы.
В Системе содержится более 150000 файлов нормативно-технической документации, действующей на территории РФ.
Система предназначена для широкого круга инженерно-технических специалистов.

Рейтинг@Mail.ru Яндекс цитирования

Copyright © www.gostrf.com, 2008 - 2026