Крупнейшая бесплатная информационно-справочная система онлайн доступа к полному собранию технических нормативно-правовых актов РФ. Огромная база технических нормативов (более 150 тысяч документов) и полное собрание национальных стандартов, аутентичное официальной базе Госстандарта. GOSTRF.com - это более 1 Терабайта бесплатной технической информации для всех пользователей интернета. Все электронные копии представленных здесь документов могут распространяться без каких-либо ограничений. Поощряется распространение информации с этого сайта на любых других ресурсах. Каждый человек имеет право на неограниченный доступ к этим документам! Каждый человек имеет право на знание требований, изложенных в данных нормативно-правовых актах!

  


 

ГОСТ 26059-89

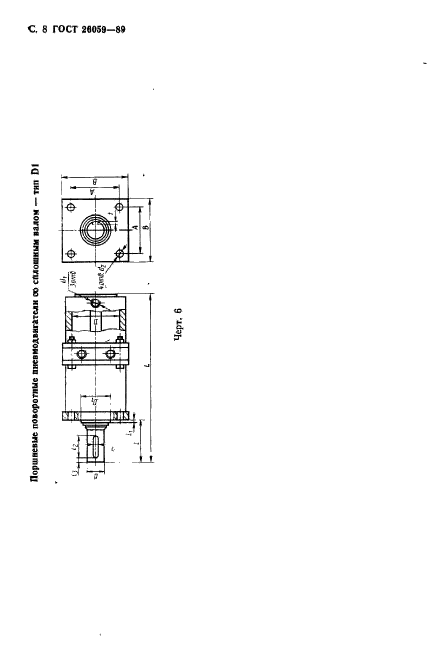
Роботы промышленные. Пневмодвигатели исполнительных устройств. Типы, основные параметры и присоединительные размеры

Обозначение:ГОСТ 26059-89
Текущий статус документа: действующий
Название документа рус.:Роботы промышленные. Пневмодвигатели исполнительных устройств. Типы, основные параметры и присоединительные размеры
Название документа англ.:Industrial robots. Pneumatic motors of actuating mechanisms. Types, basic parameters and mounting dimensions
Дата актуализации текста:01.12.2013
Дата издания:13.03.1990
Дата введения:30.06.1990
Дата последнего изменения:22.05.2013
Область применения:Настоящий стандарт устанавливает типы, основные параметры и присоединительные размеры пневмодвигателей исполнительных устройств промышленных роботов и других машин, работающих при давлении до 1,0 МПа на сжатом воздухе, очищенном не грубее 7-8-го классов загрязненности по ГОСТ 17433 и содержащем распыленное масло вязкостью от 10 до 32 мм кв./с при температуре 50 град. С с концентрацией 2-4 капли на 1 м куб. воздуха, приведенного к нормальным условиям по ГОСТ 19862.
Настоящий стандарт не распространяется на специальные типы пневмодвигателей, используемых в промышленных роботах и других машинах
ГОСТ 26059-89ГОСТ 26059-89ГОСТ 26059-89ГОСТ 26059-89ГОСТ 26059-89ГОСТ 26059-89ГОСТ 26059-89ГОСТ 26059-89ГОСТ 26059-89ГОСТ 26059-89ГОСТ 26059-89ГОСТ 26059-89ГОСТ 26059-89ГОСТ 26059-89ГОСТ 26059-89
 




ГОСТЫ, СТРОИТЕЛЬНЫЕ и ТЕХНИЧЕСКИЕ НОРМАТИВЫ.
Некоммерческая онлайн система, содержащая все Российские Госты, национальные Стандарты и нормативы.
В Системе содержится более 150000 файлов нормативно-технической документации, действующей на территории РФ.
Система предназначена для широкого круга инженерно-технических специалистов.

Рейтинг@Mail.ru Яндекс цитирования

Copyright © www.gostrf.com, 2008 - 2026