Крупнейшая бесплатная информационно-справочная система онлайн доступа к полному собранию технических нормативно-правовых актов РФ. Огромная база технических нормативов (более 150 тысяч документов) и полное собрание национальных стандартов, аутентичное официальной базе Госстандарта. GOSTRF.com - это более 1 Терабайта бесплатной технической информации для всех пользователей интернета. Все электронные копии представленных здесь документов могут распространяться без каких-либо ограничений. Поощряется распространение информации с этого сайта на любых других ресурсах. Каждый человек имеет право на неограниченный доступ к этим документам! Каждый человек имеет право на знание требований, изложенных в данных нормативно-правовых актах!

  


 

ГОСТ 28115-89

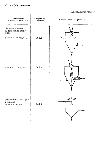
Аппараты и установки сушильные. Классификация

Обозначение:ГОСТ 28115-89
Текущий статус документа: действующий
Название документа рус.:Аппараты и установки сушильные. Классификация
Название документа англ.:Drying apparatus and plants. Classification
Дата актуализации текста:01.12.2013
Дата издания:31.07.1989
Дата введения:01.01.1990
Дата последнего изменения:22.05.2013
Область применения:Настоящий стандарт распространяется на сушильные аппараты и установки, предназначенные для сыпучих, пастообразных и текучих материалов в химической, химико-фармацевтической, микробиологической и других отраслях промышленности и устанавливает классификацию типовых сушильных аппаратов и установок
ГОСТ 28115-89ГОСТ 28115-89ГОСТ 28115-89ГОСТ 28115-89ГОСТ 28115-89ГОСТ 28115-89ГОСТ 28115-89ГОСТ 28115-89ГОСТ 28115-89ГОСТ 28115-89ГОСТ 28115-89ГОСТ 28115-89ГОСТ 28115-89ГОСТ 28115-89ГОСТ 28115-89ГОСТ 28115-89ГОСТ 28115-89ГОСТ 28115-89ГОСТ 28115-89ГОСТ 28115-89ГОСТ 28115-89ГОСТ 28115-89ГОСТ 28115-89ГОСТ 28115-89ГОСТ 28115-89
 




ГОСТЫ, СТРОИТЕЛЬНЫЕ и ТЕХНИЧЕСКИЕ НОРМАТИВЫ.
Некоммерческая онлайн система, содержащая все Российские Госты, национальные Стандарты и нормативы.
В Системе содержится более 150000 файлов нормативно-технической документации, действующей на территории РФ.
Система предназначена для широкого круга инженерно-технических специалистов.

Рейтинг@Mail.ru Яндекс цитирования

Copyright © www.gostrf.com, 2008 - 2026