Крупнейшая бесплатная информационно-справочная система онлайн доступа к полному собранию технических нормативно-правовых актов РФ. Огромная база технических нормативов (более 150 тысяч документов) и полное собрание национальных стандартов, аутентичное официальной базе Госстандарта. GOSTRF.com - это более 1 Терабайта бесплатной технической информации для всех пользователей интернета. Все электронные копии представленных здесь документов могут распространяться без каких-либо ограничений. Поощряется распространение информации с этого сайта на любых других ресурсах. Каждый человек имеет право на неограниченный доступ к этим документам! Каждый человек имеет право на знание требований, изложенных в данных нормативно-правовых актах!

  


 

ГОСТ 13317-89

Элементы соединения СВЧ трактов радиоизмерительных приборов. Присоединительные размеры

Обозначение:ГОСТ 13317-89
Текущий статус документа: действующий
Название документа рус.:Элементы соединения СВЧ трактов радиоизмерительных приборов. Присоединительные размеры
Название документа англ.:Connectors of microwave channels of radiomeasuring apparatus. Connecting dimensions
Дата актуализации текста:01.12.2013
Дата издания:30.11.1989
Дата введения:01.01.1991
Дата последнего изменения:22.05.2013
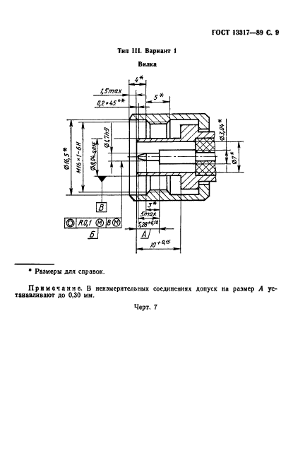
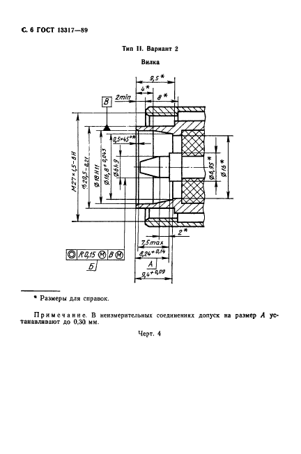
Область применения:Настоящий стандарт устанавливает размеры элементов соединений коаксиальных волноводов с воздушным заполнением сечением 2,4/1,04; 3,5/1,52; 7/3,04; 16/6,95и 16/4,6;
элементов соединений фланцев прямоугольных волноводов сечением 0,7х0,35; 1,1х0,55; 1,6х0,8; 2,4х1,2; 3,6х1,8; 5,2х2,6; 7,2х3,4; 11х 5,5; 13х6,5; 16х8; 17х8; 19х9,5; 23х10;
28,5х12,6; 35х15; 40х20; 48х24; 58х25 72х34; 90х45 и 110х55 мм и фланцев металло-диэлектрического волновода сечением 10х10 мм радиоизмерительных приборов общего применения, верхние рабочие частоты которых находятся в пределах 0,3-405,41 ГГц предназначенных для нужд народного хозяйства и экспорта.
Стандарт не устанавливает конструкции элементов соединения и не распространяется на внутриблочные и межблочные соединения
ГОСТ 13317-89ГОСТ 13317-89ГОСТ 13317-89ГОСТ 13317-89ГОСТ 13317-89ГОСТ 13317-89ГОСТ 13317-89ГОСТ 13317-89ГОСТ 13317-89ГОСТ 13317-89ГОСТ 13317-89ГОСТ 13317-89ГОСТ 13317-89ГОСТ 13317-89ГОСТ 13317-89ГОСТ 13317-89ГОСТ 13317-89ГОСТ 13317-89ГОСТ 13317-89ГОСТ 13317-89ГОСТ 13317-89ГОСТ 13317-89ГОСТ 13317-89ГОСТ 13317-89ГОСТ 13317-89ГОСТ 13317-89ГОСТ 13317-89ГОСТ 13317-89ГОСТ 13317-89ГОСТ 13317-89ГОСТ 13317-89ГОСТ 13317-89ГОСТ 13317-89ГОСТ 13317-89ГОСТ 13317-89ГОСТ 13317-89ГОСТ 13317-89ГОСТ 13317-89ГОСТ 13317-89ГОСТ 13317-89ГОСТ 13317-89ГОСТ 13317-89ГОСТ 13317-89ГОСТ 13317-89ГОСТ 13317-89
 




ГОСТЫ, СТРОИТЕЛЬНЫЕ и ТЕХНИЧЕСКИЕ НОРМАТИВЫ.
Некоммерческая онлайн система, содержащая все Российские Госты, национальные Стандарты и нормативы.
В Системе содержится более 150000 файлов нормативно-технической документации, действующей на территории РФ.
Система предназначена для широкого круга инженерно-технических специалистов.

Рейтинг@Mail.ru Яндекс цитирования

Copyright © www.gostrf.com, 2008 - 2026