Крупнейшая бесплатная информационно-справочная система онлайн доступа к полному собранию технических нормативно-правовых актов РФ. Огромная база технических нормативов (более 150 тысяч документов) и полное собрание национальных стандартов, аутентичное официальной базе Госстандарта. GOSTRF.com - это более 1 Терабайта бесплатной технической информации для всех пользователей интернета. Все электронные копии представленных здесь документов могут распространяться без каких-либо ограничений. Поощряется распространение информации с этого сайта на любых других ресурсах. Каждый человек имеет право на неограниченный доступ к этим документам! Каждый человек имеет право на знание требований, изложенных в данных нормативно-правовых актах!

  


 

ГОСТ 24396-88

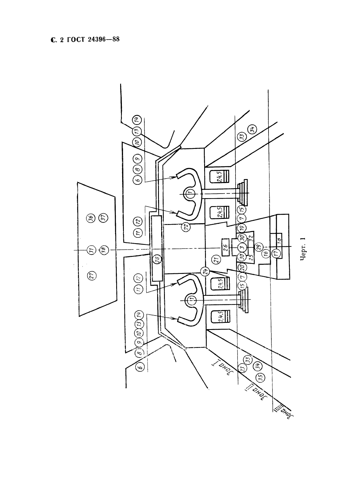
Кабина самолета для двух летчиков. Общие требования к размещению основных и аварийных органов управления

Обозначение:ГОСТ 24396-88
Текущий статус документа: действующий
Название документа рус.:Кабина самолета для двух летчиков. Общие требования к размещению основных и аварийных органов управления
Название документа англ.:Aircraft cabin for two pilots. Main and emergency controls location general requirements
Дата актуализации текста:01.12.2013
Дата издания:16.09.1988
Дата введения:30.06.1989
Дата последнего изменения:22.05.2013
Область применения:Настоящий стандарт устанавливает общие требования к размещению основных и аварийных органов управления в кабине самолета, в состав экипажа которого входят два летчика (независимо от общего числа членов экипажа), сидящих рядом на расстоянии между осями симметрии их кресел не более 1050 мм, с общим центральным пультом и креслами, допускающими незафиксированные позы летчиков на всех режимах полета.
Стандарт не распространяется на кабины самолетов, оборудованные катапультными креслами
ГОСТ 24396-88ГОСТ 24396-88ГОСТ 24396-88ГОСТ 24396-88ГОСТ 24396-88ГОСТ 24396-88ГОСТ 24396-88ГОСТ 24396-88ГОСТ 24396-88ГОСТ 24396-88ГОСТ 24396-88ГОСТ 24396-88ГОСТ 24396-88ГОСТ 24396-88ГОСТ 24396-88
 




ГОСТЫ, СТРОИТЕЛЬНЫЕ и ТЕХНИЧЕСКИЕ НОРМАТИВЫ.
Некоммерческая онлайн система, содержащая все Российские Госты, национальные Стандарты и нормативы.
В Системе содержится более 150000 файлов нормативно-технической документации, действующей на территории РФ.
Система предназначена для широкого круга инженерно-технических специалистов.

Рейтинг@Mail.ru Яндекс цитирования

Copyright © www.gostrf.com, 2008 - 2026