Крупнейшая бесплатная информационно-справочная система онлайн доступа к полному собранию технических нормативно-правовых актов РФ. Огромная база технических нормативов (более 150 тысяч документов) и полное собрание национальных стандартов, аутентичное официальной базе Госстандарта. GOSTRF.com - это более 1 Терабайта бесплатной технической информации для всех пользователей интернета. Все электронные копии представленных здесь документов могут распространяться без каких-либо ограничений. Поощряется распространение информации с этого сайта на любых других ресурсах. Каждый человек имеет право на неограниченный доступ к этим документам! Каждый человек имеет право на знание требований, изложенных в данных нормативно-правовых актах!

  


 

ГОСТ 17467-88

Микросхемы интегральные. Основные размеры

Обозначение:ГОСТ 17467-88
Текущий статус документа: утратил силу в РФ
Название документа рус.:Микросхемы интегральные. Основные размеры
Название документа англ.:Integrated microcircuits. Basic dimentions
Дата актуализации текста:01.12.2013
Дата издания:29.05.1989
Дата введения:01.01.1990
Дата последнего изменения:11.09.2013
Дата окончания срока действия:01.09.2013
Взамен: ОСТ 11 073.924-81 РД 11 0422-87
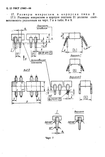
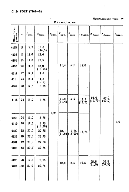
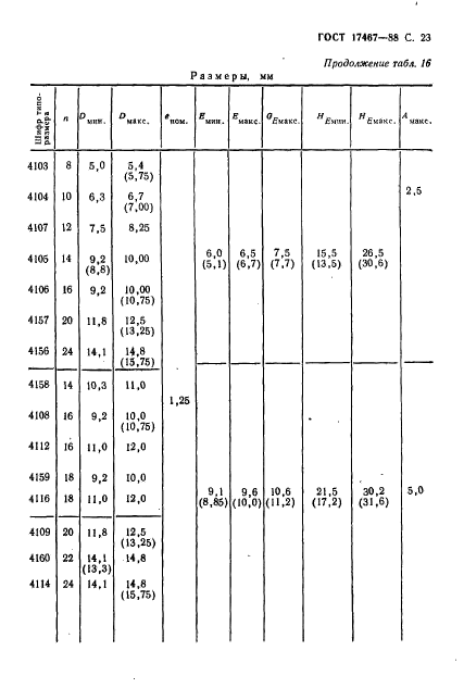
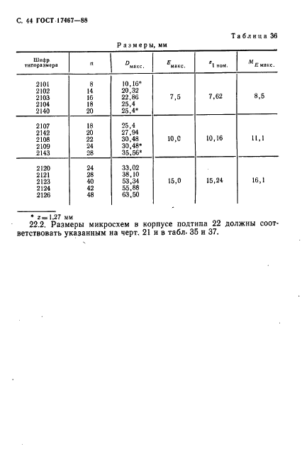
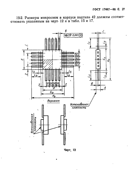
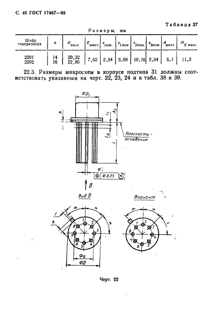
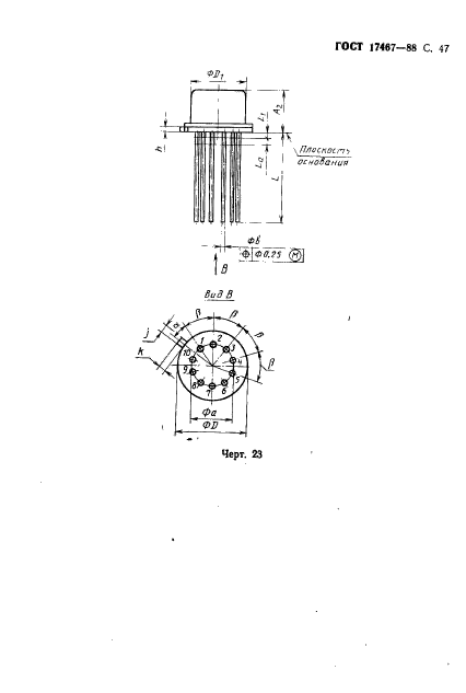
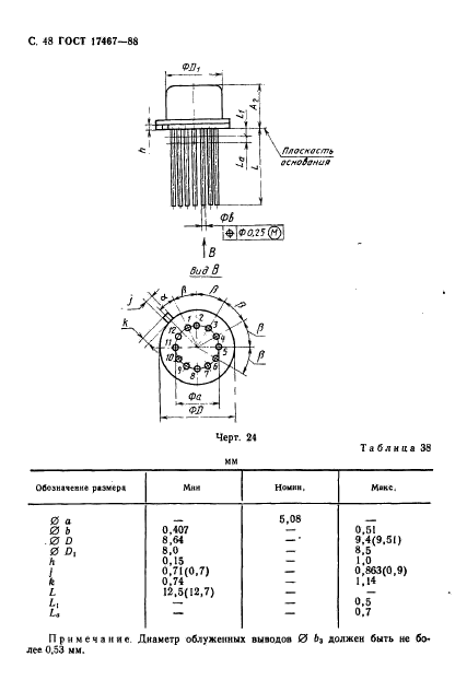
Область применения:Настоящий стандарт распространяется на интегральные микросхемы в корпусах и устанавливает их габаритные и присоединительные размеры.
Стандарт не распространяется на микросхемы СВЧ диапазона
Список изменений:№0 от 01.09.2013 (рег. 13.12.2011) «Поправка к изменению»
ГОСТ 17467-88ГОСТ 17467-88ГОСТ 17467-88ГОСТ 17467-88ГОСТ 17467-88ГОСТ 17467-88ГОСТ 17467-88ГОСТ 17467-88ГОСТ 17467-88ГОСТ 17467-88ГОСТ 17467-88ГОСТ 17467-88ГОСТ 17467-88ГОСТ 17467-88ГОСТ 17467-88ГОСТ 17467-88ГОСТ 17467-88ГОСТ 17467-88ГОСТ 17467-88ГОСТ 17467-88ГОСТ 17467-88ГОСТ 17467-88ГОСТ 17467-88ГОСТ 17467-88ГОСТ 17467-88ГОСТ 17467-88ГОСТ 17467-88ГОСТ 17467-88ГОСТ 17467-88ГОСТ 17467-88ГОСТ 17467-88ГОСТ 17467-88ГОСТ 17467-88ГОСТ 17467-88ГОСТ 17467-88ГОСТ 17467-88ГОСТ 17467-88ГОСТ 17467-88ГОСТ 17467-88ГОСТ 17467-88ГОСТ 17467-88ГОСТ 17467-88ГОСТ 17467-88ГОСТ 17467-88ГОСТ 17467-88ГОСТ 17467-88ГОСТ 17467-88ГОСТ 17467-88ГОСТ 17467-88ГОСТ 17467-88ГОСТ 17467-88ГОСТ 17467-88ГОСТ 17467-88ГОСТ 17467-88ГОСТ 17467-88ГОСТ 17467-88ГОСТ 17467-88ГОСТ 17467-88ГОСТ 17467-88ГОСТ 17467-88ГОСТ 17467-88ГОСТ 17467-88ГОСТ 17467-88ГОСТ 17467-88ГОСТ 17467-88
 




ГОСТЫ, СТРОИТЕЛЬНЫЕ и ТЕХНИЧЕСКИЕ НОРМАТИВЫ.
Некоммерческая онлайн система, содержащая все Российские Госты, национальные Стандарты и нормативы.
В Системе содержится более 150000 файлов нормативно-технической документации, действующей на территории РФ.
Система предназначена для широкого круга инженерно-технических специалистов.

Рейтинг@Mail.ru Яндекс цитирования

Copyright © www.gostrf.com, 2008 - 2026