Крупнейшая бесплатная информационно-справочная система онлайн доступа к полному собранию технических нормативно-правовых актов РФ. Огромная база технических нормативов (более 150 тысяч документов) и полное собрание национальных стандартов, аутентичное официальной базе Госстандарта. GOSTRF.com - это более 1 Терабайта бесплатной технической информации для всех пользователей интернета. Все электронные копии представленных здесь документов могут распространяться без каких-либо ограничений. Поощряется распространение информации с этого сайта на любых других ресурсах. Каждый человек имеет право на неограниченный доступ к этим документам! Каждый человек имеет право на знание требований, изложенных в данных нормативно-правовых актах!

  


 

ГОСТ 4545-88

Вещества взрывчатые бризантные. Методы определения характеристик чувствительности к удару

Обозначение:ГОСТ 4545-88
Текущий статус документа: действующий
Название документа рус.:Вещества взрывчатые бризантные. Методы определения характеристик чувствительности к удару
Название документа англ.:Explosives, high. Sensitivity characteristics determination for impact
Дата актуализации текста:01.12.2013
Дата издания:08.12.1988
Дата введения:30.06.1989
Дата последнего изменения:22.05.2013
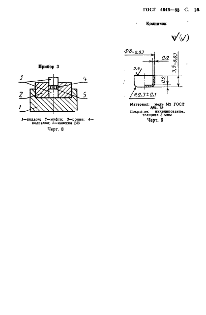
Область применения:Настоящий стандарт распространяется на бризантные взрывчатые вещества (ВВ) и устанавливает методы определения характеристик чуствительности к удару:
- нижнего предела чувствительности к удару твердых ВВ на приборе 2;
- частости взрывов твердых ВВ в приборе 1 - только для ВВ, нижний предел чувствительности к удару грузом массой 10 кг которых составляет 50 мм и более;
- частости взрывов жидких ВВ в приборе 3;
- нижнего предела чувствительности к удару жидких ВВ в приборе 3
Список изменений:№1 от 01.03.1999 (рег. 25.11.1998) «Срок действия продлен»
ГОСТ 4545-88ГОСТ 4545-88ГОСТ 4545-88ГОСТ 4545-88ГОСТ 4545-88ГОСТ 4545-88ГОСТ 4545-88ГОСТ 4545-88ГОСТ 4545-88ГОСТ 4545-88ГОСТ 4545-88ГОСТ 4545-88ГОСТ 4545-88ГОСТ 4545-88ГОСТ 4545-88ГОСТ 4545-88ГОСТ 4545-88ГОСТ 4545-88
 




ГОСТЫ, СТРОИТЕЛЬНЫЕ и ТЕХНИЧЕСКИЕ НОРМАТИВЫ.
Некоммерческая онлайн система, содержащая все Российские Госты, национальные Стандарты и нормативы.
В Системе содержится более 150000 файлов нормативно-технической документации, действующей на территории РФ.
Система предназначена для широкого круга инженерно-технических специалистов.

Рейтинг@Mail.ru Яндекс цитирования

Copyright © www.gostrf.com, 2008 - 2026