Крупнейшая бесплатная информационно-справочная система онлайн доступа к полному собранию технических нормативно-правовых актов РФ. Огромная база технических нормативов (более 150 тысяч документов) и полное собрание национальных стандартов, аутентичное официальной базе Госстандарта. GOSTRF.com - это более 1 Терабайта бесплатной технической информации для всех пользователей интернета. Все электронные копии представленных здесь документов могут распространяться без каких-либо ограничений. Поощряется распространение информации с этого сайта на любых других ресурсах. Каждый человек имеет право на неограниченный доступ к этим документам! Каждый человек имеет право на знание требований, изложенных в данных нормативно-правовых актах!

  


 

ГОСТ 2023.2-88

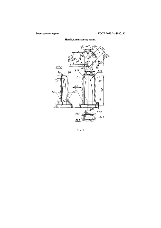
Лампы для дорожных транспортных средств. Эксплуатационные требования

Обозначение:ГОСТ 2023.2-88
Текущий статус документа: действующий
Название документа рус.:Лампы для дорожных транспортных средств. Эксплуатационные требования
Название документа англ.:Lamps for road vehicles. Performance requirements
Дата актуализации текста:01.12.2013
Дата издания:01.08.1997
Дата введения:01.01.1990
Дата последнего изменения:22.05.2013
Переиздание:переиздание с изм. 1
Область применения:Настоящий стандарт распространяется на лампы накаливания, используемые в осветительном и светосигнальном оборудовании для дорожных транспортных средств
Список изменений:№1 от 01.01.1990 (рег. 04.04.1989) «Срок действия продлен»
№2 от 01.10.1990 (рег. 13.04.1990) «Срок действия продлен»
№3 от 01.06.1997 (рег. 20.02.1997) «Срок действия продлен»
ГОСТ 2023.2-88ГОСТ 2023.2-88ГОСТ 2023.2-88ГОСТ 2023.2-88ГОСТ 2023.2-88ГОСТ 2023.2-88ГОСТ 2023.2-88ГОСТ 2023.2-88ГОСТ 2023.2-88ГОСТ 2023.2-88ГОСТ 2023.2-88ГОСТ 2023.2-88ГОСТ 2023.2-88ГОСТ 2023.2-88ГОСТ 2023.2-88ГОСТ 2023.2-88ГОСТ 2023.2-88ГОСТ 2023.2-88ГОСТ 2023.2-88ГОСТ 2023.2-88ГОСТ 2023.2-88ГОСТ 2023.2-88ГОСТ 2023.2-88ГОСТ 2023.2-88ГОСТ 2023.2-88ГОСТ 2023.2-88ГОСТ 2023.2-88ГОСТ 2023.2-88ГОСТ 2023.2-88ГОСТ 2023.2-88ГОСТ 2023.2-88ГОСТ 2023.2-88ГОСТ 2023.2-88ГОСТ 2023.2-88ГОСТ 2023.2-88ГОСТ 2023.2-88
 




ГОСТЫ, СТРОИТЕЛЬНЫЕ и ТЕХНИЧЕСКИЕ НОРМАТИВЫ.
Некоммерческая онлайн система, содержащая все Российские Госты, национальные Стандарты и нормативы.
В Системе содержится более 150000 файлов нормативно-технической документации, действующей на территории РФ.
Система предназначена для широкого круга инженерно-технических специалистов.

Рейтинг@Mail.ru Яндекс цитирования

Copyright © www.gostrf.com, 2008 - 2026