Крупнейшая бесплатная информационно-справочная система онлайн доступа к полному собранию технических нормативно-правовых актов РФ. Огромная база технических нормативов (более 150 тысяч документов) и полное собрание национальных стандартов, аутентичное официальной базе Госстандарта. GOSTRF.com - это более 1 Терабайта бесплатной технической информации для всех пользователей интернета. Все электронные копии представленных здесь документов могут распространяться без каких-либо ограничений. Поощряется распространение информации с этого сайта на любых других ресурсах. Каждый человек имеет право на неограниченный доступ к этим документам! Каждый человек имеет право на знание требований, изложенных в данных нормативно-правовых актах!

  


 

ГОСТ 27860-88

Детали трущихся сопряжений. Методы измерения износа

Обозначение:ГОСТ 27860-88
Текущий статус документа: действующий
Название документа рус.:Детали трущихся сопряжений. Методы измерения износа
Название документа англ.:Machine parts. Measurement of wear
Дата актуализации текста:01.12.2013
Дата издания:12.01.1989
Дата введения:01.01.1990
Дата последнего изменения:22.05.2013
Взамен:
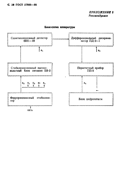
Область применения:Настоящий стандарт устанавливает комплекс методов непрерывного или периодического измерения износа деталей трущихся сопряжений при лабораторных испытаниях или в процессе их эксплуатации. Предусматриваются методы измерения износа: деталей из неметаллических конструкционных материалов на основе железа, меди и их сплавов и композиций с относительным содержанием других элементов не более 20 процентов по массе; по уменьшению интенсивности гамма-излучения предварительно активированного в месте измерения износа поверхностного слоя (метод поверхностной активации) или торцевых поверхностей, прилегающих к поверхности износа (метод радиоактивных марок)
ГОСТ 27860-88ГОСТ 27860-88ГОСТ 27860-88ГОСТ 27860-88ГОСТ 27860-88ГОСТ 27860-88ГОСТ 27860-88ГОСТ 27860-88ГОСТ 27860-88ГОСТ 27860-88ГОСТ 27860-88ГОСТ 27860-88ГОСТ 27860-88ГОСТ 27860-88ГОСТ 27860-88ГОСТ 27860-88ГОСТ 27860-88ГОСТ 27860-88ГОСТ 27860-88ГОСТ 27860-88ГОСТ 27860-88ГОСТ 27860-88ГОСТ 27860-88ГОСТ 27860-88ГОСТ 27860-88ГОСТ 27860-88ГОСТ 27860-88ГОСТ 27860-88ГОСТ 27860-88ГОСТ 27860-88ГОСТ 27860-88ГОСТ 27860-88
 




ГОСТЫ, СТРОИТЕЛЬНЫЕ и ТЕХНИЧЕСКИЕ НОРМАТИВЫ.
Некоммерческая онлайн система, содержащая все Российские Госты, национальные Стандарты и нормативы.
В Системе содержится более 150000 файлов нормативно-технической документации, действующей на территории РФ.
Система предназначена для широкого круга инженерно-технических специалистов.

Рейтинг@Mail.ru Яндекс цитирования

Copyright © www.gostrf.com, 2008 - 2026