Крупнейшая бесплатная информационно-справочная система онлайн доступа к полному собранию технических нормативно-правовых актов РФ. Огромная база технических нормативов (более 150 тысяч документов) и полное собрание национальных стандартов, аутентичное официальной базе Госстандарта. GOSTRF.com - это более 1 Терабайта бесплатной технической информации для всех пользователей интернета. Все электронные копии представленных здесь документов могут распространяться без каких-либо ограничений. Поощряется распространение информации с этого сайта на любых других ресурсах. Каждый человек имеет право на неограниченный доступ к этим документам! Каждый человек имеет право на знание требований, изложенных в данных нормативно-правовых актах!

  


 

ГОСТ 27120-86

Печи химических производств с вращающимися барабанами общего назначения. Общие технические требования

Обозначение:ГОСТ 27120-86
Текущий статус документа: действующий
Название документа рус.:Печи химических производств с вращающимися барабанами общего назначения. Общие технические требования
Название документа англ.:General purpose rotor drum furnaces for chemical plants. Basic parameters and dimensions
Дата актуализации текста:01.12.2013
Дата издания:01.07.1992
Дата введения:01.01.1988
Дата последнего изменения:22.05.2013
Переиздание:переиздание с изм. 1
Взамен в части: в части печей
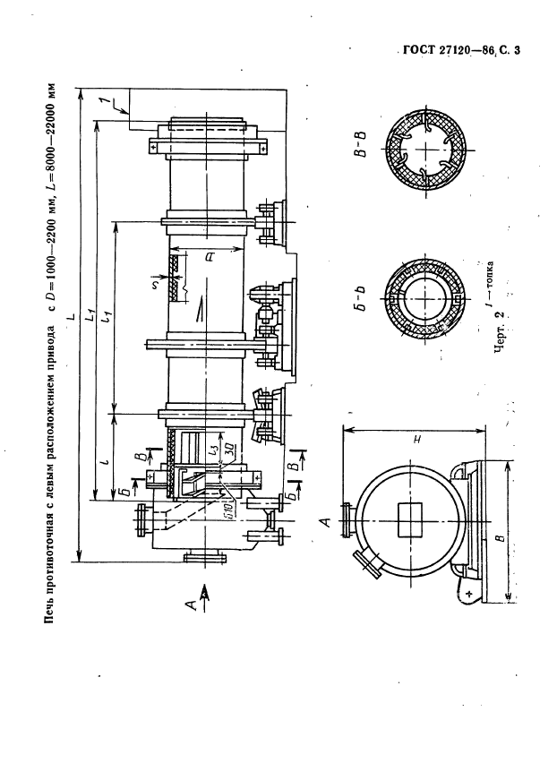
Область применения:Настоящий стандарт распространяется на прямоточные и противоточные печи химических производств с вращающимися барабанами общего назначения, предназначенные для обработки взрывобезопасных материалов, изготовлемые для нужд народного хозяйства и экспорта.
Стандарт не распространяется на печи для цементной промышелнности, печи с наружным обогревом и муфельные (в том числе с металлическим муфелем)
Список изменений:№1 от 01.08.1992 (рег. 30.01.1992) «Срок действия продлен»
ГОСТ 27120-86ГОСТ 27120-86ГОСТ 27120-86ГОСТ 27120-86ГОСТ 27120-86ГОСТ 27120-86ГОСТ 27120-86ГОСТ 27120-86ГОСТ 27120-86ГОСТ 27120-86ГОСТ 27120-86ГОСТ 27120-86ГОСТ 27120-86ГОСТ 27120-86ГОСТ 27120-86ГОСТ 27120-86ГОСТ 27120-86ГОСТ 27120-86
 




ГОСТЫ, СТРОИТЕЛЬНЫЕ и ТЕХНИЧЕСКИЕ НОРМАТИВЫ.
Некоммерческая онлайн система, содержащая все Российские Госты, национальные Стандарты и нормативы.
В Системе содержится более 150000 файлов нормативно-технической документации, действующей на территории РФ.
Система предназначена для широкого круга инженерно-технических специалистов.

Рейтинг@Mail.ru Яндекс цитирования

Copyright © www.gostrf.com, 2008 - 2026