Крупнейшая бесплатная информационно-справочная система онлайн доступа к полному собранию технических нормативно-правовых актов РФ. Огромная база технических нормативов (более 150 тысяч документов) и полное собрание национальных стандартов, аутентичное официальной базе Госстандарта. GOSTRF.com - это более 1 Терабайта бесплатной технической информации для всех пользователей интернета. Все электронные копии представленных здесь документов могут распространяться без каких-либо ограничений. Поощряется распространение информации с этого сайта на любых других ресурсах. Каждый человек имеет право на неограниченный доступ к этим документам! Каждый человек имеет право на знание требований, изложенных в данных нормативно-правовых актах!

  


 

ГОСТ 26919-86

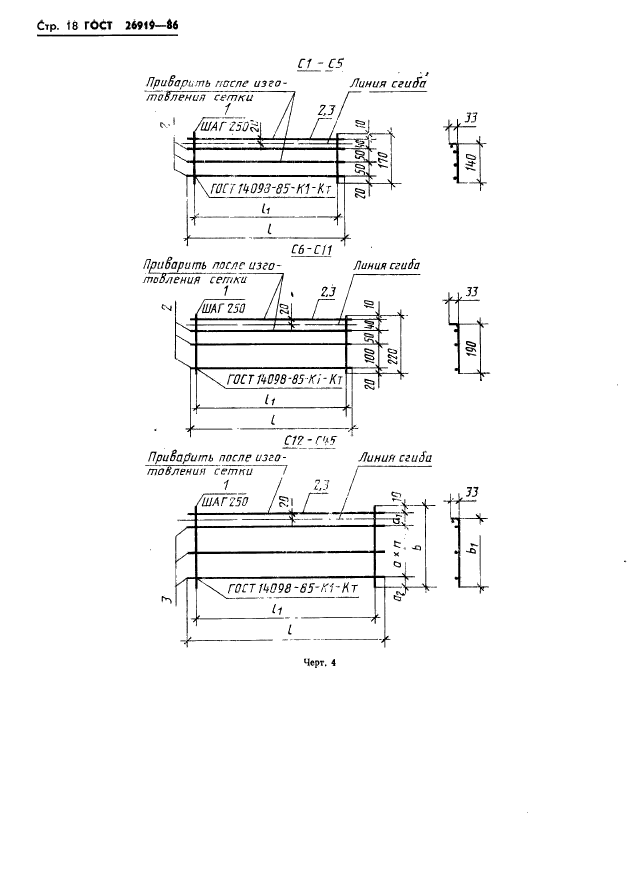
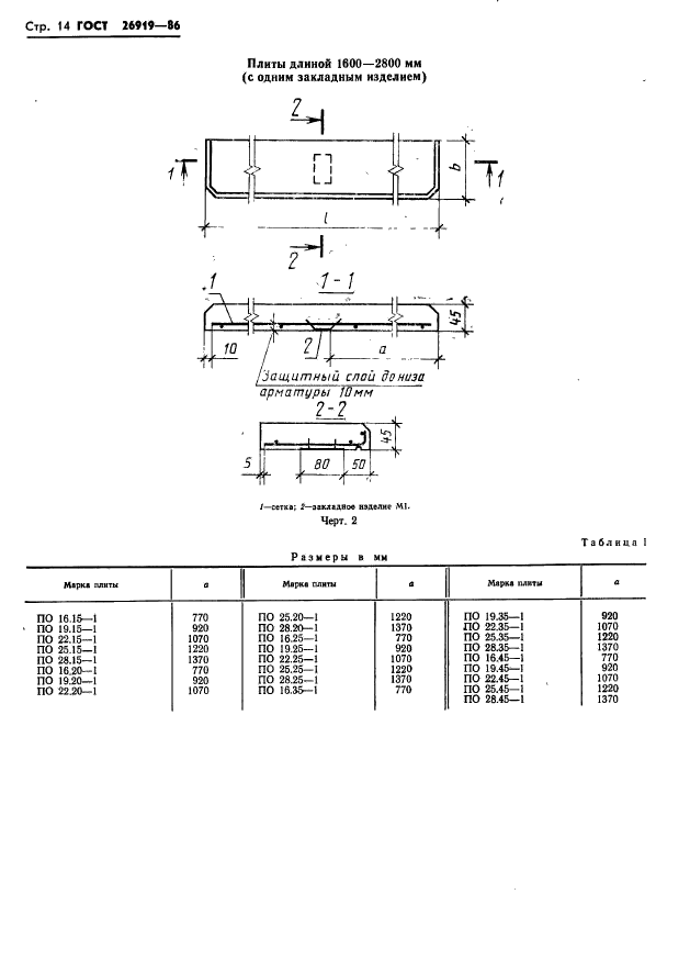
Плиты подоконные железобетонные для жилых, общественных и вспомогательных зданий. Технические условия

Обозначение:ГОСТ 26919-86
Текущий статус документа: действующий
Название документа рус.:Плиты подоконные железобетонные для жилых, общественных и вспомогательных зданий. Технические условия
Название документа англ.:Reinforced concrete window boards for residential,civil and auxiliary buildings. Specification
Дата актуализации текста:01.12.2013
Дата издания:29.08.1986
Дата введения:30.06.1987
Дата последнего изменения:22.05.2013
Взамен в части: в части подоконных плит для жилых, общественных и вспомогательных зданий
Область применения:Настоящий стандарт распространяется на подоконные железобетонные плиты, изготовляемые из тяжелого и плотного силикатного бетонов и предназначенные для применения в жилых и общественных зданиях, а также в вспомогательных зданиях и помещениях промышленных и сельскохозяйственных предприятий
ГОСТ 26919-86ГОСТ 26919-86ГОСТ 26919-86ГОСТ 26919-86ГОСТ 26919-86ГОСТ 26919-86ГОСТ 26919-86ГОСТ 26919-86ГОСТ 26919-86ГОСТ 26919-86ГОСТ 26919-86ГОСТ 26919-86ГОСТ 26919-86ГОСТ 26919-86ГОСТ 26919-86ГОСТ 26919-86ГОСТ 26919-86ГОСТ 26919-86ГОСТ 26919-86ГОСТ 26919-86ГОСТ 26919-86ГОСТ 26919-86ГОСТ 26919-86ГОСТ 26919-86
 




ГОСТЫ, СТРОИТЕЛЬНЫЕ и ТЕХНИЧЕСКИЕ НОРМАТИВЫ.
Некоммерческая онлайн система, содержащая все Российские Госты, национальные Стандарты и нормативы.
В Системе содержится более 150000 файлов нормативно-технической документации, действующей на территории РФ.
Система предназначена для широкого круга инженерно-технических специалистов.

Рейтинг@Mail.ru Яндекс цитирования

Copyright © www.gostrf.com, 2008 - 2026