Крупнейшая бесплатная информационно-справочная система онлайн доступа к полному собранию технических нормативно-правовых актов РФ. Огромная база технических нормативов (более 150 тысяч документов) и полное собрание национальных стандартов, аутентичное официальной базе Госстандарта. GOSTRF.com - это более 1 Терабайта бесплатной технической информации для всех пользователей интернета. Все электронные копии представленных здесь документов могут распространяться без каких-либо ограничений. Поощряется распространение информации с этого сайта на любых других ресурсах. Каждый человек имеет право на неограниченный доступ к этим документам! Каждый человек имеет право на знание требований, изложенных в данных нормативно-правовых актах!

  


 

ГОСТ 9.505-86

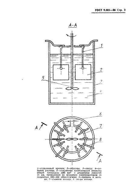
Единая система защиты от коррозии и старения. Ингибиторы кислотной коррозии. Методы испытаний защитной способности при кислотном травлении металлов

Обозначение:ГОСТ 9.505-86
Текущий статус документа: действующий
Название документа рус.:Единая система защиты от коррозии и старения. Ингибиторы кислотной коррозии. Методы испытаний защитной способности при кислотном травлении металлов
Название документа англ.:Unified system of corrosion and ageing protection. Inhibitors of acid corrosion. Methods of testing the protective ability during acid pickling of metals
Дата актуализации текста:01.12.2013
Дата издания:04.01.1987
Дата введения:30.06.1987
Дата последнего изменения:22.05.2013
Область применения:Настоящий стандарт устанавливает методы сравнительных лабораторных, а также эксплуатационных испытаний для оценки защитной способности ингибиторов кислотной коррозии (далее ингибиторы), применяемых при травлении черных металлов в минеральных кислотах
ГОСТ 9.505-86ГОСТ 9.505-86ГОСТ 9.505-86ГОСТ 9.505-86ГОСТ 9.505-86ГОСТ 9.505-86ГОСТ 9.505-86ГОСТ 9.505-86ГОСТ 9.505-86ГОСТ 9.505-86ГОСТ 9.505-86ГОСТ 9.505-86ГОСТ 9.505-86ГОСТ 9.505-86ГОСТ 9.505-86ГОСТ 9.505-86
 




ГОСТЫ, СТРОИТЕЛЬНЫЕ и ТЕХНИЧЕСКИЕ НОРМАТИВЫ.
Некоммерческая онлайн система, содержащая все Российские Госты, национальные Стандарты и нормативы.
В Системе содержится более 150000 файлов нормативно-технической документации, действующей на территории РФ.
Система предназначена для широкого круга инженерно-технических специалистов.

Рейтинг@Mail.ru Яндекс цитирования

Copyright © www.gostrf.com, 2008 - 2026