Крупнейшая бесплатная информационно-справочная система онлайн доступа к полному собранию технических нормативно-правовых актов РФ. Огромная база технических нормативов (более 150 тысяч документов) и полное собрание национальных стандартов, аутентичное официальной базе Госстандарта. GOSTRF.com - это более 1 Терабайта бесплатной технической информации для всех пользователей интернета. Все электронные копии представленных здесь документов могут распространяться без каких-либо ограничений. Поощряется распространение информации с этого сайта на любых других ресурсах. Каждый человек имеет право на неограниченный доступ к этим документам! Каждый человек имеет право на знание требований, изложенных в данных нормативно-правовых актах!

  


 

ГОСТ 26140-84

Аппараты рентгеновские медицинские. Общие технические условия

Обозначение:ГОСТ 26140-84
Текущий статус документа: действующий
Название документа рус.:Аппараты рентгеновские медицинские. Общие технические условия
Название документа англ.:X-ray medical apparatus. General specifications
Дата актуализации текста:01.12.2013
Дата издания:01.08.1990
Дата введения:30.06.1985
Дата последнего изменения:22.05.2013
Переиздание:переиздание с изм. 1
Взамен в части: в части медицинских рентгеновских аппаратов
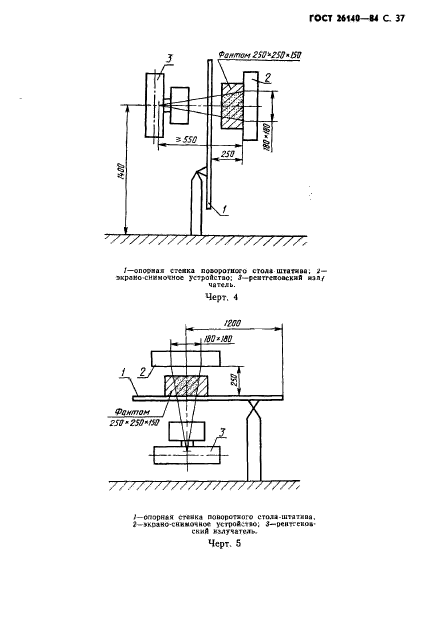
Область применения:Настоящий стандарт распространяется на медицинские рентгеновские аппараты и комплексы с анодным напряжением рентгеновской трубки от 10 до 400 кВ, предназначенные для рентгенодиагностики и рентгенотерапии, с питанием электрической энергией от источников переменного тока.
Стандарт не распространяется на импульсные аппараты с длительностью импульса менее 0,1 мс, на вычислительные томографы, на аппараты с накопителями энергии и преобразованием частоты в главной цепи, а также на дентальные рентгеновские аппараты с анодным напряжением свыше 125 кВ, электрорентгенографические и перевозимые аппараты
Список изменений:№1 от 01.04.1986 (рег. 07.01.1986) «Срок действия продлен»
№2 от 01.07.1988 (рег. 27.01.1988) «Срок действия продлен»
№3 от 01.07.1990 (рег. 23.11.1989) «Срок действия продлен»
ГОСТ 26140-84ГОСТ 26140-84ГОСТ 26140-84ГОСТ 26140-84ГОСТ 26140-84ГОСТ 26140-84ГОСТ 26140-84ГОСТ 26140-84ГОСТ 26140-84ГОСТ 26140-84ГОСТ 26140-84ГОСТ 26140-84ГОСТ 26140-84ГОСТ 26140-84ГОСТ 26140-84ГОСТ 26140-84ГОСТ 26140-84ГОСТ 26140-84ГОСТ 26140-84ГОСТ 26140-84ГОСТ 26140-84ГОСТ 26140-84ГОСТ 26140-84ГОСТ 26140-84ГОСТ 26140-84ГОСТ 26140-84ГОСТ 26140-84ГОСТ 26140-84ГОСТ 26140-84ГОСТ 26140-84ГОСТ 26140-84ГОСТ 26140-84ГОСТ 26140-84ГОСТ 26140-84ГОСТ 26140-84ГОСТ 26140-84ГОСТ 26140-84ГОСТ 26140-84ГОСТ 26140-84ГОСТ 26140-84ГОСТ 26140-84ГОСТ 26140-84ГОСТ 26140-84ГОСТ 26140-84ГОСТ 26140-84ГОСТ 26140-84ГОСТ 26140-84ГОСТ 26140-84ГОСТ 26140-84ГОСТ 26140-84ГОСТ 26140-84ГОСТ 26140-84ГОСТ 26140-84
 




ГОСТЫ, СТРОИТЕЛЬНЫЕ и ТЕХНИЧЕСКИЕ НОРМАТИВЫ.
Некоммерческая онлайн система, содержащая все Российские Госты, национальные Стандарты и нормативы.
В Системе содержится более 150000 файлов нормативно-технической документации, действующей на территории РФ.
Система предназначена для широкого круга инженерно-технических специалистов.

Рейтинг@Mail.ru Яндекс цитирования

Copyright © www.gostrf.com, 2008 - 2026