Крупнейшая бесплатная информационно-справочная система онлайн доступа к полному собранию технических нормативно-правовых актов РФ. Огромная база технических нормативов (более 150 тысяч документов) и полное собрание национальных стандартов, аутентичное официальной базе Госстандарта. GOSTRF.com - это более 1 Терабайта бесплатной технической информации для всех пользователей интернета. Все электронные копии представленных здесь документов могут распространяться без каких-либо ограничений. Поощряется распространение информации с этого сайта на любых других ресурсах. Каждый человек имеет право на неограниченный доступ к этим документам! Каждый человек имеет право на знание требований, изложенных в данных нормативно-правовых актах!

  


 

ГОСТ 22810-83

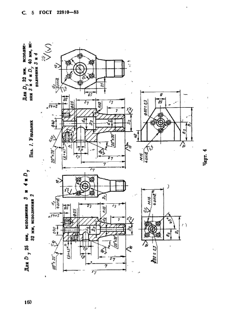
Сборочные единицы и детали трубопроводов. Угольники с карманами под термометры сопротивления и термоэлектрические термометры на Ру св. 10 до 100 МПа (св. 100 до 1000 кгс/см кв.). Конструкция и размеры

Обозначение:ГОСТ 22810-83
Текущий статус документа: действующий
Название документа рус.:Сборочные единицы и детали трубопроводов. Угольники с карманами под термометры сопротивления и термоэлектрические термометры на Ру св. 10 до 100 МПа (св. 100 до 1000 кгс/см кв.). Конструкция и размеры
Название документа англ.:Assembly units and pipeline parts. Pocket angles for resistance thermometers and thermocouple thermometers for Pnom 9,81-98,1 MPa (100-1000 kgf/sm sq). Construction and dimensions
Дата актуализации текста:01.12.2013
Дата издания:01.07.1991
Дата введения:01.01.1985
Дата последнего изменения:22.05.2013
Переиздание:переиздание с изм. 1
Область применения:Настоящий стандарт распространяется на угольники с карманами под термометры сопротивления и термоэлектрические термометры для трубопроводов с линзовым уплотнением, применяемых на предприятиях отраслей нефтехимической промышленности и для производства минеральных удобрений
Список изменений:№1 от 01.07.1989 (рег. 23.12.1988) «Срок действия продлен»
ГОСТ 22810-83ГОСТ 22810-83ГОСТ 22810-83ГОСТ 22810-83ГОСТ 22810-83ГОСТ 22810-83ГОСТ 22810-83ГОСТ 22810-83ГОСТ 22810-83ГОСТ 22810-83
 




ГОСТЫ, СТРОИТЕЛЬНЫЕ и ТЕХНИЧЕСКИЕ НОРМАТИВЫ.
Некоммерческая онлайн система, содержащая все Российские Госты, национальные Стандарты и нормативы.
В Системе содержится более 150000 файлов нормативно-технической документации, действующей на территории РФ.
Система предназначена для широкого круга инженерно-технических специалистов.

Рейтинг@Mail.ru Яндекс цитирования

Copyright © www.gostrf.com, 2008 - 2026