Крупнейшая бесплатная информационно-справочная система онлайн доступа к полному собранию технических нормативно-правовых актов РФ. Огромная база технических нормативов (более 150 тысяч документов) и полное собрание национальных стандартов, аутентичное официальной базе Госстандарта. GOSTRF.com - это более 1 Терабайта бесплатной технической информации для всех пользователей интернета. Все электронные копии представленных здесь документов могут распространяться без каких-либо ограничений. Поощряется распространение информации с этого сайта на любых других ресурсах. Каждый человек имеет право на неограниченный доступ к этим документам! Каждый человек имеет право на знание требований, изложенных в данных нормативно-правовых актах!

  


 

ГОСТ Р 52290-2004

Технические средства организации дорожного движения. Знаки дорожные. Общие технические требования

Обозначение:ГОСТ Р 52290-2004
Текущий статус документа: действующий
Название документа рус.:Технические средства организации дорожного движения. Знаки дорожные. Общие технические требования
Название документа англ.:Traffic control devices. Traffic signs. General technical requirements
Дата актуализации текста:01.12.2013
Дата издания:01.02.2006
Дата введения:01.01.2006
Дата последнего изменения:22.05.2013
Переиздание:переиздание с поправкой
Область применения:Настоящий стандарт устанавливает группы, изображения, размеры дорожных знаков, предназначенных для установки на улицах и дорогах с целью информирования участников дорожного движения об условиях и режимах движения, а также технические требования к знакам и применяемым для их изготовления материалам, методам испытаний.
Стандарт также устанавливает требования к световозвращающим материалам для знаков
Список изменений:№0 от 18.01.2006 (рег. 18.01.2006) «Дата введения перенесена»
№0 от 22.04.2011 (рег. 22.04.2011) «Дата введения перенесена»
№1 от 20.11.2010 (рег. 12.11.2010) «Срок действия продлен»
Приложение №1:Изменение №1 к ГОСТ Р 52290-2004
Приложение №2:Поправка к ГОСТ Р 52290-2004
Приложение №3:Поправка к ГОСТ Р 52290-2004
ГОСТ Р 52290-2004ГОСТ Р 52290-2004ГОСТ Р 52290-2004ГОСТ Р 52290-2004ГОСТ Р 52290-2004ГОСТ Р 52290-2004ГОСТ Р 52290-2004ГОСТ Р 52290-2004ГОСТ Р 52290-2004ГОСТ Р 52290-2004ГОСТ Р 52290-2004ГОСТ Р 52290-2004ГОСТ Р 52290-2004ГОСТ Р 52290-2004ГОСТ Р 52290-2004ГОСТ Р 52290-2004ГОСТ Р 52290-2004ГОСТ Р 52290-2004ГОСТ Р 52290-2004ГОСТ Р 52290-2004ГОСТ Р 52290-2004ГОСТ Р 52290-2004ГОСТ Р 52290-2004ГОСТ Р 52290-2004ГОСТ Р 52290-2004ГОСТ Р 52290-2004ГОСТ Р 52290-2004ГОСТ Р 52290-2004ГОСТ Р 52290-2004ГОСТ Р 52290-2004ГОСТ Р 52290-2004ГОСТ Р 52290-2004ГОСТ Р 52290-2004ГОСТ Р 52290-2004ГОСТ Р 52290-2004ГОСТ Р 52290-2004ГОСТ Р 52290-2004ГОСТ Р 52290-2004ГОСТ Р 52290-2004ГОСТ Р 52290-2004ГОСТ Р 52290-2004ГОСТ Р 52290-2004ГОСТ Р 52290-2004ГОСТ Р 52290-2004ГОСТ Р 52290-2004ГОСТ Р 52290-2004ГОСТ Р 52290-2004ГОСТ Р 52290-2004ГОСТ Р 52290-2004ГОСТ Р 52290-2004ГОСТ Р 52290-2004ГОСТ Р 52290-2004ГОСТ Р 52290-2004ГОСТ Р 52290-2004ГОСТ Р 52290-2004ГОСТ Р 52290-2004ГОСТ Р 52290-2004ГОСТ Р 52290-2004ГОСТ Р 52290-2004ГОСТ Р 52290-2004ГОСТ Р 52290-2004ГОСТ Р 52290-2004ГОСТ Р 52290-2004ГОСТ Р 52290-2004ГОСТ Р 52290-2004ГОСТ Р 52290-2004ГОСТ Р 52290-2004ГОСТ Р 52290-2004ГОСТ Р 52290-2004ГОСТ Р 52290-2004ГОСТ Р 52290-2004ГОСТ Р 52290-2004ГОСТ Р 52290-2004ГОСТ Р 52290-2004ГОСТ Р 52290-2004ГОСТ Р 52290-2004ГОСТ Р 52290-2004ГОСТ Р 52290-2004ГОСТ Р 52290-2004ГОСТ Р 52290-2004ГОСТ Р 52290-2004ГОСТ Р 52290-2004ГОСТ Р 52290-2004ГОСТ Р 52290-2004ГОСТ Р 52290-2004ГОСТ Р 52290-2004ГОСТ Р 52290-2004ГОСТ Р 52290-2004ГОСТ Р 52290-2004ГОСТ Р 52290-2004ГОСТ Р 52290-2004ГОСТ Р 52290-2004ГОСТ Р 52290-2004ГОСТ Р 52290-2004ГОСТ Р 52290-2004ГОСТ Р 52290-2004ГОСТ Р 52290-2004ГОСТ Р 52290-2004ГОСТ Р 52290-2004ГОСТ Р 52290-2004ГОСТ Р 52290-2004ГОСТ Р 52290-2004ГОСТ Р 52290-2004ГОСТ Р 52290-2004ГОСТ Р 52290-2004ГОСТ Р 52290-2004ГОСТ Р 52290-2004ГОСТ Р 52290-2004ГОСТ Р 52290-2004ГОСТ Р 52290-2004ГОСТ Р 52290-2004ГОСТ Р 52290-2004ГОСТ Р 52290-2004ГОСТ Р 52290-2004ГОСТ Р 52290-2004ГОСТ Р 52290-2004ГОСТ Р 52290-2004ГОСТ Р 52290-2004ГОСТ Р 52290-2004ГОСТ Р 52290-2004ГОСТ Р 52290-2004ГОСТ Р 52290-2004ГОСТ Р 52290-2004ГОСТ Р 52290-2004ГОСТ Р 52290-2004ГОСТ Р 52290-2004ГОСТ Р 52290-2004ГОСТ Р 52290-2004ГОСТ Р 52290-2004ГОСТ Р 52290-2004ГОСТ Р 52290-2004ГОСТ Р 52290-2004ГОСТ Р 52290-2004ГОСТ Р 52290-2004ГОСТ Р 52290-2004ГОСТ Р 52290-2004

Изменение №1 к ГОСТ Р 52290-2004

Обозначение:Изменение №1 к ГОСТ Р 52290-2004
Дата введения:20.11.2010


Изменение №1 к ГОСТ Р 52290-2004Изменение №1 к ГОСТ Р 52290-2004Изменение №1 к ГОСТ Р 52290-2004Изменение №1 к ГОСТ Р 52290-2004Изменение №1 к ГОСТ Р 52290-2004

Поправка к ГОСТ Р 52290-2004

Обозначение:Поправка к ГОСТ Р 52290-2004
Дата введения:18.01.2006


Поправка к ГОСТ Р 52290-2004

Поправка к ГОСТ Р 52290-2004

Обозначение:Поправка к ГОСТ Р 52290-2004
Дата введения:22.04.2011


Поправка к ГОСТ Р 52290-2004Поправка к ГОСТ Р 52290-2004
 




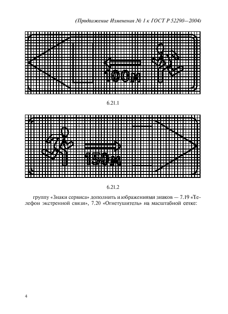
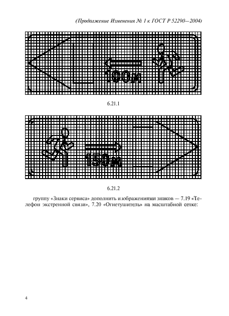
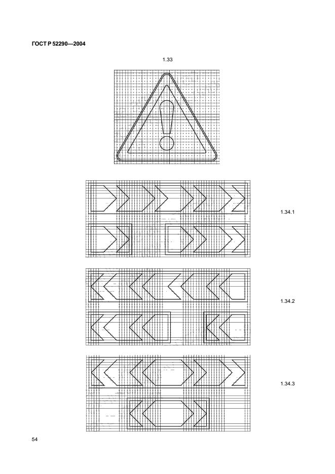
ГОСТЫ, СТРОИТЕЛЬНЫЕ и ТЕХНИЧЕСКИЕ НОРМАТИВЫ.
Некоммерческая онлайн система, содержащая все Российские Госты, национальные Стандарты и нормативы.
В Системе содержится более 150000 файлов нормативно-технической документации, действующей на территории РФ.
Система предназначена для широкого круга инженерно-технических специалистов.

Рейтинг@Mail.ru Яндекс цитирования

Copyright © www.gostrf.com, 2008 - 2026