Крупнейшая бесплатная информационно-справочная система онлайн доступа к полному собранию технических нормативно-правовых актов РФ. Огромная база технических нормативов (более 150 тысяч документов) и полное собрание национальных стандартов, аутентичное официальной базе Госстандарта. GOSTRF.com - это более 1 Терабайта бесплатной технической информации для всех пользователей интернета. Все электронные копии представленных здесь документов могут распространяться без каких-либо ограничений. Поощряется распространение информации с этого сайта на любых других ресурсах. Каждый человек имеет право на неограниченный доступ к этим документам! Каждый человек имеет право на знание требований, изложенных в данных нормативно-правовых актах!

  


 

ГОСТ 16555-75

Трансформаторы силовые трехфазные герметичные масляные. Технические условия

Обозначение:ГОСТ 16555-75
Текущий статус документа: действующий
Название документа рус.:Трансформаторы силовые трехфазные герметичные масляные. Технические условия
Название документа англ.:Three-phase oil-filled hermetic power transformers. Specifications
Дата актуализации текста:01.12.2013
Дата издания:01.03.2006
Дата введения:01.01.1977
Дата последнего изменения:22.05.2013
Переиздание:переиздание с изм. 1
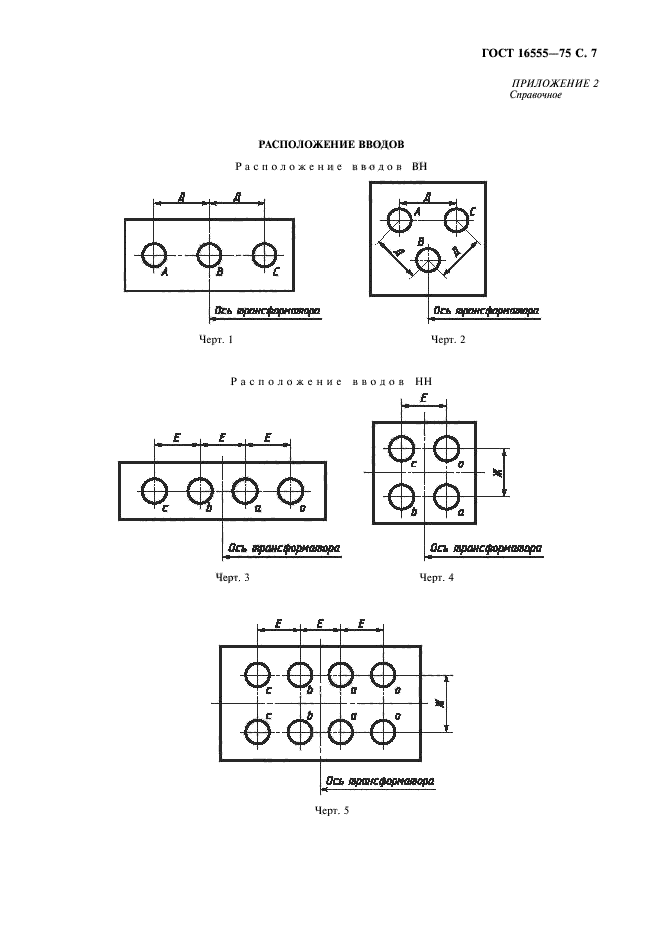
Область применения:Настоящий стандарт распространяется на стационарные силовые герметичные масляные трехфазные двухобмоточные трансформаторы общего назначения мощностью от 250 до 2500 кВ.А на напряжение до 10 кВ, с плоской магнитной системой, с переключением ответвлений без возбуждения, предназначенные для комплектных трансформаторных подстанций, изготовляемые для нужд народного хозяйства, а также для экспорта, как комплектующие изделия.
Стандарт не распространяется на трансформаторы , работающие в среде, содержащей едкие пары и газы, разрушающие металлы и изоляцию
Список изменений:№1 от 01.04.1980 (рег. 26.11.1979) «Срок действия продлен»
№2 от 01.06.1982 (рег. 22.12.1981) «Срок действия продлен»
№3 от 01.08.1984 (рег. 31.03.1984) «Срок действия продлен»
№4 от 01.04.1985 (рег. 17.10.1984) «Срок действия продлен»
№5 от 01.06.1986 (рег. 11.12.1985) «Срок действия продлен»
№6 от 01.07.1988 (рег. 14.12.1987) «Срок действия продлен»
№7 от 01.01.1991 (рег. 21.06.1990) «Поправка»
ГОСТ 16555-75ГОСТ 16555-75ГОСТ 16555-75ГОСТ 16555-75ГОСТ 16555-75ГОСТ 16555-75ГОСТ 16555-75ГОСТ 16555-75ГОСТ 16555-75ГОСТ 16555-75ГОСТ 16555-75
 




ГОСТЫ, СТРОИТЕЛЬНЫЕ и ТЕХНИЧЕСКИЕ НОРМАТИВЫ.
Некоммерческая онлайн система, содержащая все Российские Госты, национальные Стандарты и нормативы.
В Системе содержится более 150000 файлов нормативно-технической документации, действующей на территории РФ.
Система предназначена для широкого круга инженерно-технических специалистов.

Рейтинг@Mail.ru Яндекс цитирования

Copyright © www.gostrf.com, 2008 - 2026