Крупнейшая бесплатная информационно-справочная система онлайн доступа к полному собранию технических нормативно-правовых актов РФ. Огромная база технических нормативов (более 150 тысяч документов) и полное собрание национальных стандартов, аутентичное официальной базе Госстандарта. GOSTRF.com - это более 1 Терабайта бесплатной технической информации для всех пользователей интернета. Все электронные копии представленных здесь документов могут распространяться без каких-либо ограничений. Поощряется распространение информации с этого сайта на любых других ресурсах. Каждый человек имеет право на неограниченный доступ к этим документам! Каждый человек имеет право на знание требований, изложенных в данных нормативно-правовых актах!

  


 

ГОСТ 10782-85

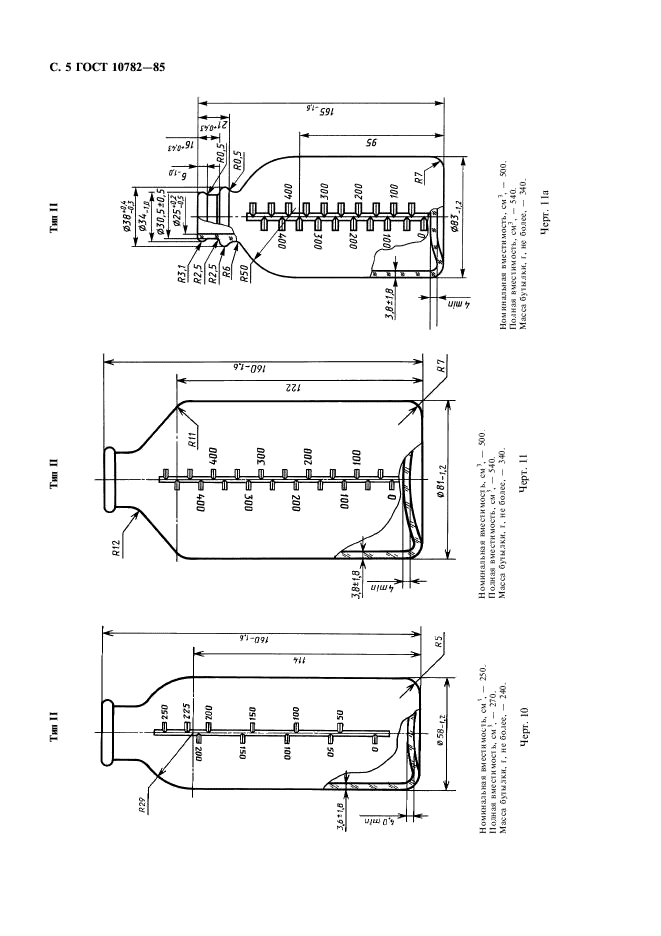
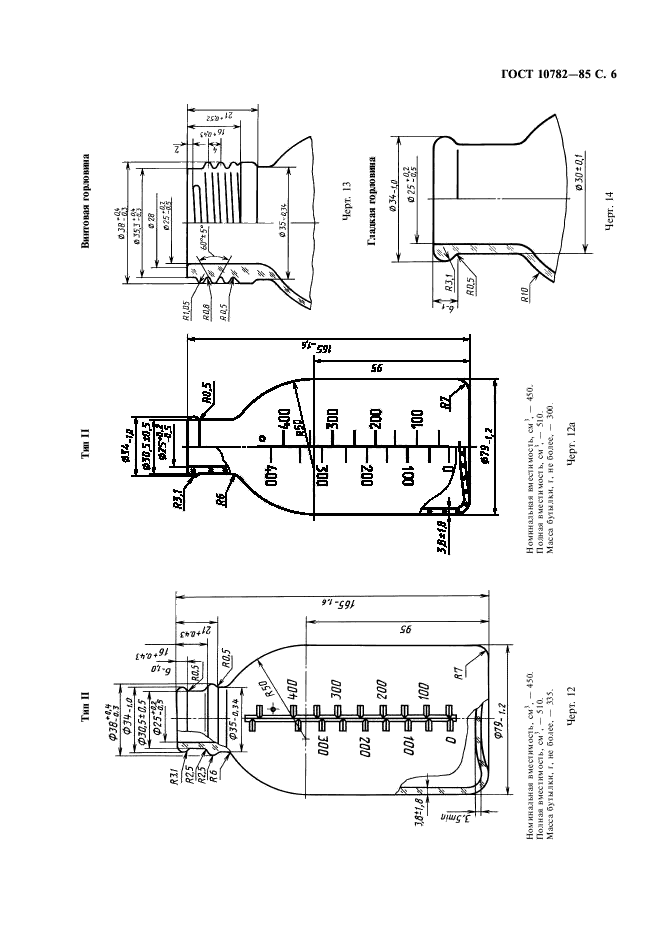
Бутылки стеклянные для крови,трансфузионных и инфузионных препаратов. Технические условия

Обозначение:ГОСТ 10782-85
Текущий статус документа: действующий
Название документа рус.:Бутылки стеклянные для крови,трансфузионных и инфузионных препаратов. Технические условия
Название документа англ.:Glass bottles for blood, transfusion and infusion compounds. Specifications
Дата актуализации текста:01.12.2013
Дата издания:01.11.2006
Дата введения:01.01.1987
Дата последнего изменения:22.05.2013
Переиздание:переиздание с изм. 1
Область применения:Настоящий стандарт распространяется на стеклянные бутылки, предназначенные для донорской крови, ее компонентов, трансфузионных и инфузионных препаратов
Список изменений:№1 от 01.02.1988 (рег. 21.09.1987) «Срок действия продлен»
№2 от 01.01.1991 (рег. 25.04.1990) «Срок действия продлен»
№3 от 01.05.1991 (рег. 27.12.1990) «Срок действия продлен»
№4 от 01.07.1992 (рег. 25.12.1991) «Срок действия продлен»
№5 от 01.07.2005 (рег. 19.04.2005) «Текстовое изменение; Изменены ссылочные НД»
№6 от 01.07.2005 (рег. 19.04.2005) «Срок действия продлен»
Приложение №1:Изменение №5 к ГОСТ 10782-85
Приложение №2:Изменение №6 к ГОСТ 10782-85
ГОСТ 10782-85ГОСТ 10782-85ГОСТ 10782-85ГОСТ 10782-85ГОСТ 10782-85ГОСТ 10782-85ГОСТ 10782-85ГОСТ 10782-85ГОСТ 10782-85ГОСТ 10782-85ГОСТ 10782-85ГОСТ 10782-85ГОСТ 10782-85ГОСТ 10782-85ГОСТ 10782-85ГОСТ 10782-85ГОСТ 10782-85ГОСТ 10782-85

Изменение №5 к ГОСТ 10782-85

Обозначение:Изменение №5 к ГОСТ 10782-85
Дата введения:01.07.2005


Изменение №5 к ГОСТ 10782-85Изменение №5 к ГОСТ 10782-85Изменение №5 к ГОСТ 10782-85

Изменение №6 к ГОСТ 10782-85

Обозначение:Изменение №6 к ГОСТ 10782-85
Дата введения:01.07.2005


Изменение №6 к ГОСТ 10782-85Изменение №6 к ГОСТ 10782-85
 




ГОСТЫ, СТРОИТЕЛЬНЫЕ и ТЕХНИЧЕСКИЕ НОРМАТИВЫ.
Некоммерческая онлайн система, содержащая все Российские Госты, национальные Стандарты и нормативы.
В Системе содержится более 150000 файлов нормативно-технической документации, действующей на территории РФ.
Система предназначена для широкого круга инженерно-технических специалистов.

Рейтинг@Mail.ru Яндекс цитирования

Copyright © www.gostrf.com, 2008 - 2026