Крупнейшая бесплатная информационно-справочная система онлайн доступа к полному собранию технических нормативно-правовых актов РФ. Огромная база технических нормативов (более 150 тысяч документов) и полное собрание национальных стандартов, аутентичное официальной базе Госстандарта. GOSTRF.com - это более 1 Терабайта бесплатной технической информации для всех пользователей интернета. Все электронные копии представленных здесь документов могут распространяться без каких-либо ограничений. Поощряется распространение информации с этого сайта на любых других ресурсах. Каждый человек имеет право на неограниченный доступ к этим документам! Каждый человек имеет право на знание требований, изложенных в данных нормативно-правовых актах!

  


 

ГОСТ 19797-85

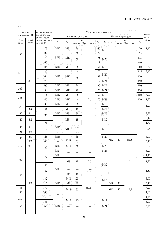
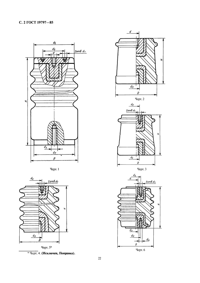
Изоляторы керамические опорные на напряжение свыше 1000 В для работы в помещении. Типы, основные параметры и размеры

Обозначение:ГОСТ 19797-85
Текущий статус документа: действующий
Название документа рус.:Изоляторы керамические опорные на напряжение свыше 1000 В для работы в помещении. Типы, основные параметры и размеры
Название документа англ.:Base ceramic indoor insulators for systems with nominal voltage over 1000 V. Types, basic parameters and dimensions
Дата актуализации текста:01.12.2013
Дата издания:01.06.2005
Дата введения:01.01.1987
Дата последнего изменения:22.05.2013
Переиздание:переиздание с поправкой и изм. 1
Область применения:Настоящий стандарт распространяется на опорные керамические армированные изоляторы климатического исполнения У, УХЛ, Т категории размещения 2, 3, 4 по ГОСТ 15150, предназначенные для изоляции и крепления токоведущих частей в электрических аппаратах и распределительных устройствах.
Настоящий стандарт устанавливает типы, основные параметры и размеры изоляторов, изготовленных для нужд народного хозяйства и экспорта
Список изменений:№1 от 01.07.1989 (рег. 13.01.1989) «Срок действия продлен»
№2 от 01.02.1991 (рег. 10.09.1990) «Срок действия продлен»
ГОСТ 19797-85ГОСТ 19797-85ГОСТ 19797-85ГОСТ 19797-85ГОСТ 19797-85ГОСТ 19797-85ГОСТ 19797-85ГОСТ 19797-85ГОСТ 19797-85ГОСТ 19797-85
 




ГОСТЫ, СТРОИТЕЛЬНЫЕ и ТЕХНИЧЕСКИЕ НОРМАТИВЫ.
Некоммерческая онлайн система, содержащая все Российские Госты, национальные Стандарты и нормативы.
В Системе содержится более 150000 файлов нормативно-технической документации, действующей на территории РФ.
Система предназначена для широкого круга инженерно-технических специалистов.

Рейтинг@Mail.ru Яндекс цитирования

Copyright © www.gostrf.com, 2008 - 2026