Крупнейшая бесплатная информационно-справочная система онлайн доступа к полному собранию технических нормативно-правовых актов РФ. Огромная база технических нормативов (более 150 тысяч документов) и полное собрание национальных стандартов, аутентичное официальной базе Госстандарта. GOSTRF.com - это более 1 Терабайта бесплатной технической информации для всех пользователей интернета. Все электронные копии представленных здесь документов могут распространяться без каких-либо ограничений. Поощряется распространение информации с этого сайта на любых других ресурсах. Каждый человек имеет право на неограниченный доступ к этим документам! Каждый человек имеет право на знание требований, изложенных в данных нормативно-правовых актах!

  


 

ГОСТ Р 51334-99

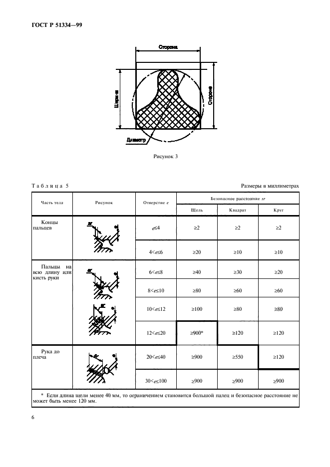
Безопасность машин. Безопасные расстояния для предохранения верхних конечностей от попадания в опасную зону

Обозначение:ГОСТ Р 51334-99
Текущий статус документа: действующий
Название документа рус.:Безопасность машин. Безопасные расстояния для предохранения верхних конечностей от попадания в опасную зону
Название документа англ.:Safety of machinery. Safety distances to prevent danger zones being reached by the upper limbs
Дата актуализации текста:01.12.2013
Дата издания:01.12.2005
Дата введения:30.06.2000
Дата последнего изменения:22.05.2013
Переиздание:переиздание
Область применения:Настоящий стандарт устанавливает значения безопасных расстояний, за исключением опасных зон для верхних конечностей лиц от трех лет и старше. Настоящий стандарт применим в случаях, когда оцениваемая безопасность может быть достигнута через расстояния.
Настоящий стандарт не распространяется на машины, для которых предусмотрены определенные электротехнические нормы со специальными испытаниями, например, применением испытательных щупов
ГОСТ Р 51334-99ГОСТ Р 51334-99ГОСТ Р 51334-99ГОСТ Р 51334-99ГОСТ Р 51334-99ГОСТ Р 51334-99ГОСТ Р 51334-99ГОСТ Р 51334-99ГОСТ Р 51334-99ГОСТ Р 51334-99ГОСТ Р 51334-99ГОСТ Р 51334-99
 




ГОСТЫ, СТРОИТЕЛЬНЫЕ и ТЕХНИЧЕСКИЕ НОРМАТИВЫ.
Некоммерческая онлайн система, содержащая все Российские Госты, национальные Стандарты и нормативы.
В Системе содержится более 150000 файлов нормативно-технической документации, действующей на территории РФ.
Система предназначена для широкого круга инженерно-технических специалистов.

Рейтинг@Mail.ru Яндекс цитирования

Copyright © www.gostrf.com, 2008 - 2026