Крупнейшая бесплатная информационно-справочная система онлайн доступа к полному собранию технических нормативно-правовых актов РФ. Огромная база технических нормативов (более 150 тысяч документов) и полное собрание национальных стандартов, аутентичное официальной базе Госстандарта. GOSTRF.com - это более 1 Терабайта бесплатной технической информации для всех пользователей интернета. Все электронные копии представленных здесь документов могут распространяться без каких-либо ограничений. Поощряется распространение информации с этого сайта на любых других ресурсах. Каждый человек имеет право на неограниченный доступ к этим документам! Каждый человек имеет право на знание требований, изложенных в данных нормативно-правовых актах!

  


 

ГОСТ 4070-2000

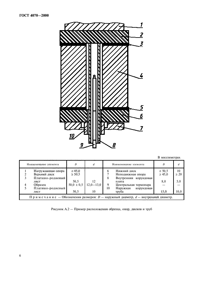
Изделия огнеупорные. Метод определения температуры деформации под нагрузкой

Обозначение:ГОСТ 4070-2000
Текущий статус документа: действующий
Название документа рус.:Изделия огнеупорные. Метод определения температуры деформации под нагрузкой
Название документа англ.:Refractory products. Method for determination of refractoriness-under-load
Дата актуализации текста:01.12.2013
Дата издания:01.03.2006
Дата введения:31.05.2001
Дата последнего изменения:22.05.2013
Переиздание:переиздание с поправкой
Область применения:Настоящий стандарт устанавливает метод определения температуры деформации под нагрузкой огнеупорных изделий с общей пористостью менее 45%.
Стандарт не распространяется на теплоизоляционные огнеупорные изделия
Список изменений:№0 от 15.09.2001 (рег. 15.09.2001) «Дата введения перенесена»
Приложение №1:Поправка к ГОСТ 4070-2000
ГОСТ 4070-2000ГОСТ 4070-2000ГОСТ 4070-2000ГОСТ 4070-2000ГОСТ 4070-2000ГОСТ 4070-2000ГОСТ 4070-2000ГОСТ 4070-2000ГОСТ 4070-2000ГОСТ 4070-2000ГОСТ 4070-2000ГОСТ 4070-2000ГОСТ 4070-2000ГОСТ 4070-2000ГОСТ 4070-2000

Поправка к ГОСТ 4070-2000

Обозначение:Поправка к ГОСТ 4070-2000
Дата введения:15.09.2001


Поправка к ГОСТ 4070-2000
 




ГОСТЫ, СТРОИТЕЛЬНЫЕ и ТЕХНИЧЕСКИЕ НОРМАТИВЫ.
Некоммерческая онлайн система, содержащая все Российские Госты, национальные Стандарты и нормативы.
В Системе содержится более 150000 файлов нормативно-технической документации, действующей на территории РФ.
Система предназначена для широкого круга инженерно-технических специалистов.

Рейтинг@Mail.ru Яндекс цитирования

Copyright © www.gostrf.com, 2008 - 2026