Крупнейшая бесплатная информационно-справочная система онлайн доступа к полному собранию технических нормативно-правовых актов РФ. Огромная база технических нормативов (более 150 тысяч документов) и полное собрание национальных стандартов, аутентичное официальной базе Госстандарта. GOSTRF.com - это более 1 Терабайта бесплатной технической информации для всех пользователей интернета. Все электронные копии представленных здесь документов могут распространяться без каких-либо ограничений. Поощряется распространение информации с этого сайта на любых других ресурсах. Каждый человек имеет право на неограниченный доступ к этим документам! Каждый человек имеет право на знание требований, изложенных в данных нормативно-правовых актах!

  


 

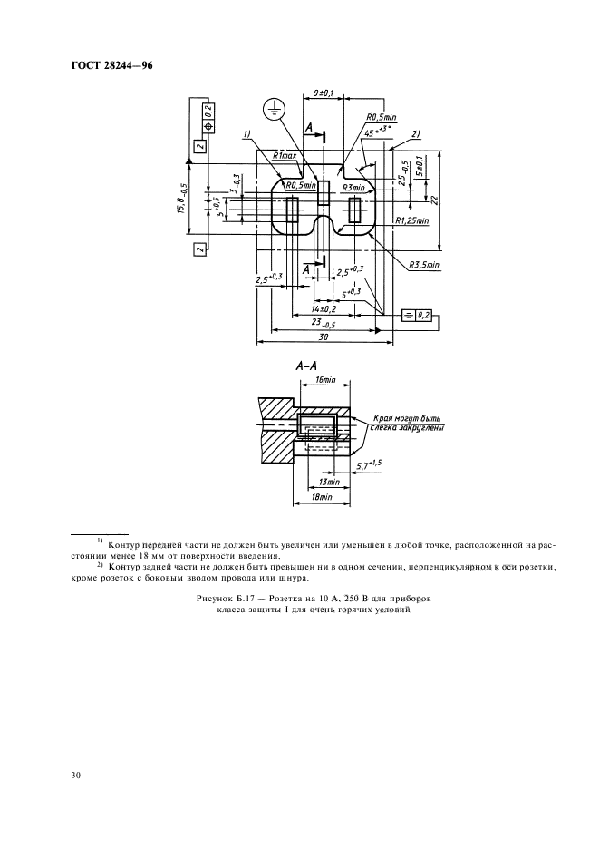
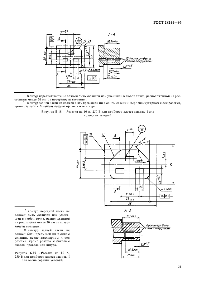
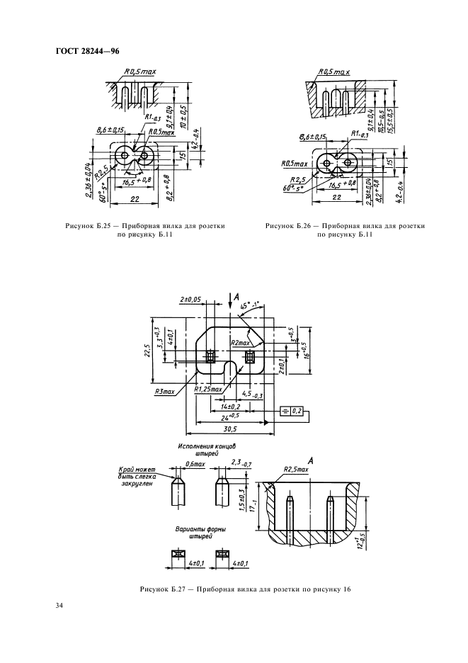
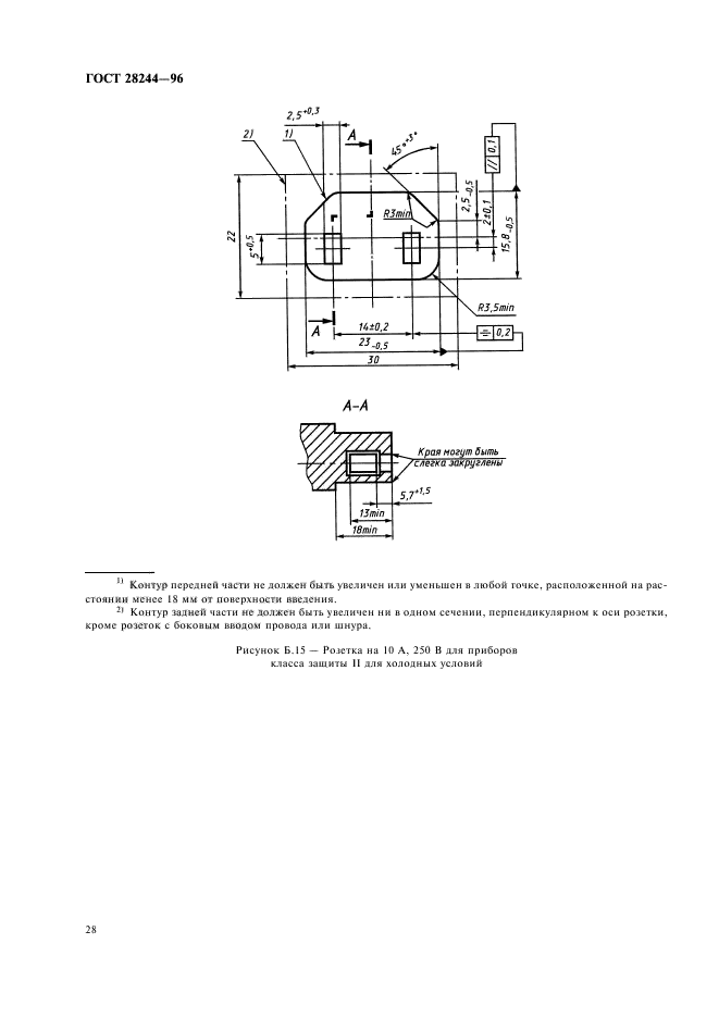
ГОСТ 28244-96

Провода и шнуры армированные. Технические условия

Обозначение:ГОСТ 28244-96
Текущий статус документа: действующий
Название документа рус.:Провода и шнуры армированные. Технические условия
Название документа англ.:Reinforced wires and cords. Specifications
Дата актуализации текста:01.12.2013
Дата издания:01.10.2006
Дата введения:01.01.1998
Дата последнего изменения:22.05.2013
Переиздание:переиздание с поправкой
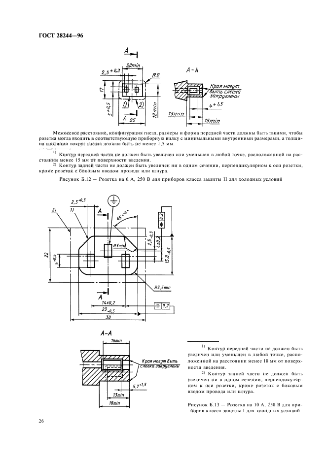
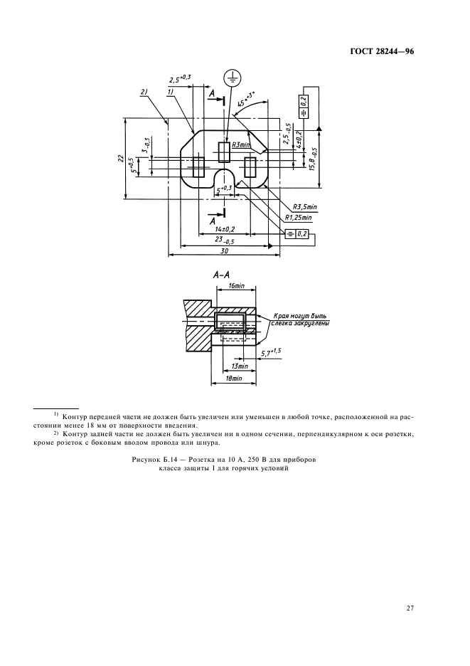
Область применения:Настоящий стандарт распространяется на провода и шнуры, армированные неразборными двухполюсными вилками, и провода и шнуры, армированные неразборными двухполюсными вилками и приборными розетками ( разборными и неразборными), предназначенные для присоединения электрических машин и приборов бытового и аналогичного назначения к электрической сети переменного тока до 16 А и номинального напряжения до 250 В
Список изменений:№0 от 01.05.1998 (рег. 01.05.1998) «Дата введения перенесена»
Приложение №1:Поправка к ГОСТ 28244-96
ГОСТ 28244-96ГОСТ 28244-96ГОСТ 28244-96ГОСТ 28244-96ГОСТ 28244-96ГОСТ 28244-96ГОСТ 28244-96ГОСТ 28244-96ГОСТ 28244-96ГОСТ 28244-96ГОСТ 28244-96ГОСТ 28244-96ГОСТ 28244-96ГОСТ 28244-96ГОСТ 28244-96ГОСТ 28244-96ГОСТ 28244-96ГОСТ 28244-96ГОСТ 28244-96ГОСТ 28244-96ГОСТ 28244-96ГОСТ 28244-96ГОСТ 28244-96ГОСТ 28244-96ГОСТ 28244-96ГОСТ 28244-96ГОСТ 28244-96ГОСТ 28244-96ГОСТ 28244-96ГОСТ 28244-96ГОСТ 28244-96ГОСТ 28244-96ГОСТ 28244-96ГОСТ 28244-96ГОСТ 28244-96ГОСТ 28244-96ГОСТ 28244-96ГОСТ 28244-96ГОСТ 28244-96

Поправка к ГОСТ 28244-96

Обозначение:Поправка к ГОСТ 28244-96
Дата введения:01.05.1998


Поправка к ГОСТ 28244-96
 




ГОСТЫ, СТРОИТЕЛЬНЫЕ и ТЕХНИЧЕСКИЕ НОРМАТИВЫ.
Некоммерческая онлайн система, содержащая все Российские Госты, национальные Стандарты и нормативы.
В Системе содержится более 150000 файлов нормативно-технической документации, действующей на территории РФ.
Система предназначена для широкого круга инженерно-технических специалистов.

Рейтинг@Mail.ru Яндекс цитирования

Copyright © www.gostrf.com, 2008 - 2026