Крупнейшая бесплатная информационно-справочная система онлайн доступа к полному собранию технических нормативно-правовых актов РФ. Огромная база технических нормативов (более 150 тысяч документов) и полное собрание национальных стандартов, аутентичное официальной базе Госстандарта. GOSTRF.com - это более 1 Терабайта бесплатной технической информации для всех пользователей интернета. Все электронные копии представленных здесь документов могут распространяться без каких-либо ограничений. Поощряется распространение информации с этого сайта на любых других ресурсах. Каждый человек имеет право на неограниченный доступ к этим документам! Каждый человек имеет право на знание требований, изложенных в данных нормативно-правовых актах!

  


 

ГОСТ 24960-81

Калибры комплексные для контроля шлицевых прямобочных соединений. Виды, основные размеры

Обозначение:ГОСТ 24960-81
Текущий статус документа: действующий
Название документа рус.:Калибры комплексные для контроля шлицевых прямобочных соединений. Виды, основные размеры
Название документа англ.:Complex gauges for splined straight-sided joints. Types, basic dimensions
Дата актуализации текста:01.12.2013
Дата издания:01.05.2003
Дата введения:01.01.1982
Дата последнего изменения:22.05.2013
Переиздание:переиздание с изм. 1
Взамен:МН 2957-61 МН 2958-61 МН 2959-61 МН 2960-61 МН 2961-61 МН 2962-61 МН 2963-61 МН 2964-61 МН 2965-61 МН 2966-61 МН 2967-61 МН 2968-61 МН 2969-61
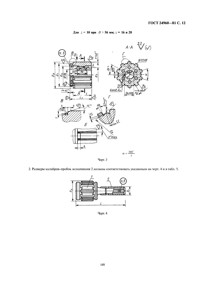
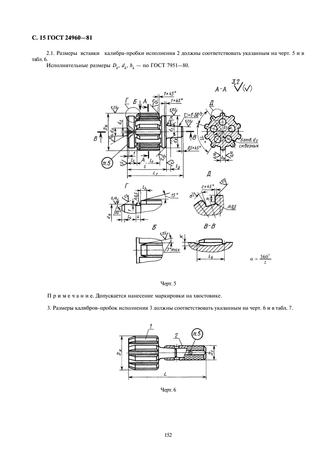
Область применения:Настоящий стандарт распространяется на комплексные калибры (пробки и кольца), предназначенные для контроля суммарных отклонений наружного и внутреннего диаметров, ширины пазов или толщины зубьев, а также отклонений формы и расположения элементов профиля шлицевых валов и отверстий с прямобочным профилем зубьев
Список изменений:№1 от 01.07.1985 (рег. 05.03.1985) «Срок действия продлен»
ГОСТ 24960-81ГОСТ 24960-81ГОСТ 24960-81ГОСТ 24960-81ГОСТ 24960-81ГОСТ 24960-81ГОСТ 24960-81ГОСТ 24960-81ГОСТ 24960-81ГОСТ 24960-81ГОСТ 24960-81ГОСТ 24960-81ГОСТ 24960-81ГОСТ 24960-81ГОСТ 24960-81ГОСТ 24960-81ГОСТ 24960-81ГОСТ 24960-81ГОСТ 24960-81ГОСТ 24960-81ГОСТ 24960-81ГОСТ 24960-81ГОСТ 24960-81ГОСТ 24960-81ГОСТ 24960-81ГОСТ 24960-81
 




ГОСТЫ, СТРОИТЕЛЬНЫЕ и ТЕХНИЧЕСКИЕ НОРМАТИВЫ.
Некоммерческая онлайн система, содержащая все Российские Госты, национальные Стандарты и нормативы.
В Системе содержится более 150000 файлов нормативно-технической документации, действующей на территории РФ.
Система предназначена для широкого круга инженерно-технических специалистов.

Рейтинг@Mail.ru Яндекс цитирования

Copyright © www.gostrf.com, 2008 - 2026