Крупнейшая бесплатная информационно-справочная система онлайн доступа к полному собранию технических нормативно-правовых актов РФ. Огромная база технических нормативов (более 150 тысяч документов) и полное собрание национальных стандартов, аутентичное официальной базе Госстандарта. GOSTRF.com - это более 1 Терабайта бесплатной технической информации для всех пользователей интернета. Все электронные копии представленных здесь документов могут распространяться без каких-либо ограничений. Поощряется распространение информации с этого сайта на любых других ресурсах. Каждый человек имеет право на неограниченный доступ к этим документам! Каждый человек имеет право на знание требований, изложенных в данных нормативно-правовых актах!

  


 

ГОСТ 17437-81

Фильтры-влагоотделители воздушные. Технические условия

Обозначение:ГОСТ 17437-81
Текущий статус документа: действует только в РФ
Название документа рус.:Фильтры-влагоотделители воздушные. Технические условия
Название документа англ.:Air filters separators. Specifications
Дата актуализации текста:01.12.2013
Дата издания:15.05.1981
Дата введения:01.01.1982
Дата последнего изменения:22.05.2013
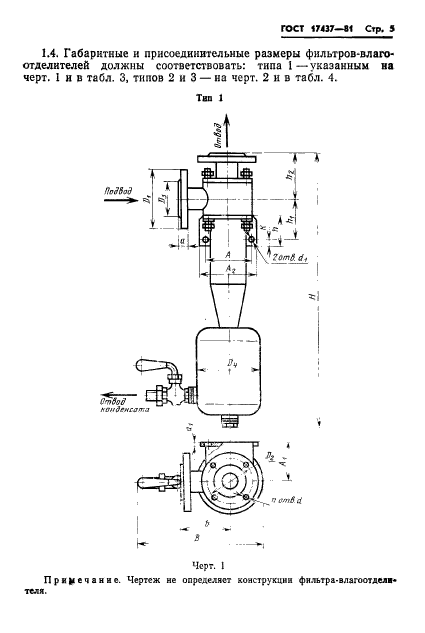
Область применения:Настоящий стандарт распространяется на фильтры-влагоотделители на давление 1,6 МПа, предназначенные для очистки сжатого воздуха от твердых частиц, воды и минерального масла в пневматических приводах и системах, изготовляемые для нужд народного хозяйства и для экспорта.
Стандарт не распространяется на фильтры-влагоотделители для тормозных систем транспортных средств и пневмосистем горно-шахтных машин
Список изменений:№1 от 01.01.1984 (рег. 13.07.1983) «Срок действия продлен»
№2 от 01.07.1986 (рег. 10.11.1985) «Срок действия продлен»
ГОСТ 17437-81ГОСТ 17437-81ГОСТ 17437-81ГОСТ 17437-81ГОСТ 17437-81ГОСТ 17437-81ГОСТ 17437-81ГОСТ 17437-81ГОСТ 17437-81ГОСТ 17437-81ГОСТ 17437-81ГОСТ 17437-81ГОСТ 17437-81ГОСТ 17437-81ГОСТ 17437-81ГОСТ 17437-81ГОСТ 17437-81ГОСТ 17437-81ГОСТ 17437-81ГОСТ 17437-81ГОСТ 17437-81ГОСТ 17437-81ГОСТ 17437-81ГОСТ 17437-81ГОСТ 17437-81ГОСТ 17437-81ГОСТ 17437-81ГОСТ 17437-81ГОСТ 17437-81ГОСТ 17437-81
 




ГОСТЫ, СТРОИТЕЛЬНЫЕ и ТЕХНИЧЕСКИЕ НОРМАТИВЫ.
Некоммерческая онлайн система, содержащая все Российские Госты, национальные Стандарты и нормативы.
В Системе содержится более 150000 файлов нормативно-технической документации, действующей на территории РФ.
Система предназначена для широкого круга инженерно-технических специалистов.

Рейтинг@Mail.ru Яндекс цитирования

Copyright © www.gostrf.com, 2008 - 2026