Крупнейшая бесплатная информационно-справочная система онлайн доступа к полному собранию технических нормативно-правовых актов РФ. Огромная база технических нормативов (более 150 тысяч документов) и полное собрание национальных стандартов, аутентичное официальной базе Госстандарта. GOSTRF.com - это более 1 Терабайта бесплатной технической информации для всех пользователей интернета. Все электронные копии представленных здесь документов могут распространяться без каких-либо ограничений. Поощряется распространение информации с этого сайта на любых других ресурсах. Каждый человек имеет право на неограниченный доступ к этим документам! Каждый человек имеет право на знание требований, изложенных в данных нормативно-правовых актах!

  


 

ГОСТ 24696-81

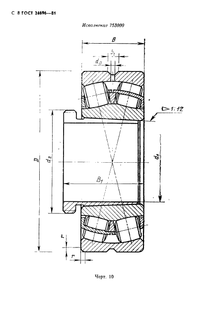
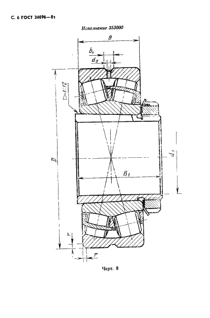
Подшипники роликовые радиальные сферические двухрядные с симметричными роликами. Основные размеры

Обозначение:ГОСТ 24696-81
Текущий статус документа: действующий
Название документа рус.:Подшипники роликовые радиальные сферические двухрядные с симметричными роликами. Основные размеры
Название документа англ.:Spherical double-row radial roller bearings with symmetrical rollers. Basic dimensions
Дата актуализации текста:01.12.2013
Дата издания:01.04.1991
Дата введения:30.06.1982
Дата последнего изменения:22.05.2013
Переиздание:переиздание с изм. 1
Область применения:Настоящий стандарт распространяется на подшипники роликовые радиальные сферические двухрядные с симметричными роликами и безбортовым внутренним кольцом
Список изменений:№0 от 13.04.1987 (рег. 13.04.1987) «Срок действия продлен»
№0 от 17.12.1987 (рег. 17.12.1987) «Срок действия продлен»
№1 от 01.01.1987 (рег. 29.10.1985) «Срок действия продлен»
ГОСТ 24696-81ГОСТ 24696-81ГОСТ 24696-81ГОСТ 24696-81ГОСТ 24696-81ГОСТ 24696-81ГОСТ 24696-81ГОСТ 24696-81ГОСТ 24696-81ГОСТ 24696-81ГОСТ 24696-81ГОСТ 24696-81ГОСТ 24696-81ГОСТ 24696-81ГОСТ 24696-81ГОСТ 24696-81ГОСТ 24696-81ГОСТ 24696-81ГОСТ 24696-81ГОСТ 24696-81ГОСТ 24696-81ГОСТ 24696-81
 




ГОСТЫ, СТРОИТЕЛЬНЫЕ и ТЕХНИЧЕСКИЕ НОРМАТИВЫ.
Некоммерческая онлайн система, содержащая все Российские Госты, национальные Стандарты и нормативы.
В Системе содержится более 150000 файлов нормативно-технической документации, действующей на территории РФ.
Система предназначена для широкого круга инженерно-технических специалистов.

Рейтинг@Mail.ru Яндекс цитирования

Copyright © www.gostrf.com, 2008 - 2026