Крупнейшая бесплатная информационно-справочная система онлайн доступа к полному собранию технических нормативно-правовых актов РФ. Огромная база технических нормативов (более 150 тысяч документов) и полное собрание национальных стандартов, аутентичное официальной базе Госстандарта. GOSTRF.com - это более 1 Терабайта бесплатной технической информации для всех пользователей интернета. Все электронные копии представленных здесь документов могут распространяться без каких-либо ограничений. Поощряется распространение информации с этого сайта на любых других ресурсах. Каждый человек имеет право на неограниченный доступ к этим документам! Каждый человек имеет право на знание требований, изложенных в данных нормативно-правовых актах!

  


 

ГОСТ 20398.10-80

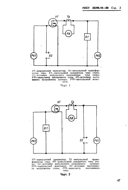
Транзисторы полевые. Метод измерения тока стока в импульсном режиме

Обозначение:ГОСТ 20398.10-80
Текущий статус документа: действующий
Название документа рус.:Транзисторы полевые. Метод измерения тока стока в импульсном режиме
Название документа англ.:Field-effect transistors. Drain current for Vgs=0 impulse measurement technique
Дата актуализации текста:01.12.2013
Дата издания:01.03.1984
Дата введения:01.01.1982
Дата последнего изменения:22.05.2013
Переиздание:переиздание
Область применения:Настоящий стандарт распространяется на полевые транзисторы средней и большой мощности и на СВЧ полевые транзисторы малой мощности с начальным током стока более 15 мА и устанавливает метод измерения тока стока, начального тока стока и остаточного тока стока, превышающего 100 мА в импульсном режиме
ГОСТ 20398.10-80ГОСТ 20398.10-80ГОСТ 20398.10-80
 




ГОСТЫ, СТРОИТЕЛЬНЫЕ и ТЕХНИЧЕСКИЕ НОРМАТИВЫ.
Некоммерческая онлайн система, содержащая все Российские Госты, национальные Стандарты и нормативы.
В Системе содержится более 150000 файлов нормативно-технической документации, действующей на территории РФ.
Система предназначена для широкого круга инженерно-технических специалистов.

Рейтинг@Mail.ru Яндекс цитирования

Copyright © www.gostrf.com, 2008 - 2026