Крупнейшая бесплатная информационно-справочная система онлайн доступа к полному собранию технических нормативно-правовых актов РФ. Огромная база технических нормативов (более 150 тысяч документов) и полное собрание национальных стандартов, аутентичное официальной базе Госстандарта. GOSTRF.com - это более 1 Терабайта бесплатной технической информации для всех пользователей интернета. Все электронные копии представленных здесь документов могут распространяться без каких-либо ограничений. Поощряется распространение информации с этого сайта на любых других ресурсах. Каждый человек имеет право на неограниченный доступ к этим документам! Каждый человек имеет право на знание требований, изложенных в данных нормативно-правовых актах!

  


 

ГОСТ 14695-80

Подстанции трансформаторные комплектные мощностью от 25 до 2500 кВ*А на напряжение до 10 кВ. Общие технические условия

Обозначение:ГОСТ 14695-80
Текущий статус документа: действующий
Название документа рус.:Подстанции трансформаторные комплектные мощностью от 25 до 2500 кВ*А на напряжение до 10 кВ. Общие технические условия
Название документа англ.:Enclosed transformer substations of output from 25 to 2500 kVxA, for voltages up to 10 kV inclusive. General specifications
Дата актуализации текста:01.12.2013
Дата издания:01.12.1985
Дата введения:01.01.1983
Дата последнего изменения:22.05.2013
Переиздание:переиздание с изм. 1
Взамен:
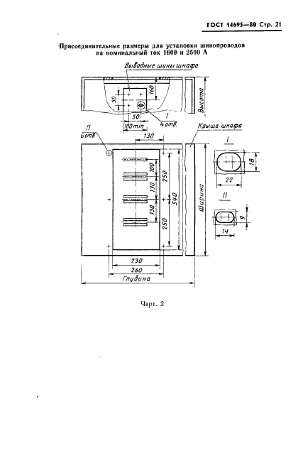
Область применения:Настоящий стандарт распространяется на комплектные трансформаторные подстанции (КТП) трехфазного переменного тока частоты 50 и 60 Гц на напряжение до 10 кВ общего назначения, предназначенные для приема, преобразования и распределения электроэнергии, видов климатических исполнений У1, У3, ХЛ1.
Стандарт не распространяется на КТП: работающие в среде, содержащей едкие пары и газы, работающие в среде, разрушающие металлы и изоляцию; специальные КТП, предназначенные для подвижных установок и для питания отдельных электроприводов целевого назначения; взрывозащищенные и рудничные КТП
Список изменений:№1 от 01.06.1983 (рег. 11.02.1983) «Срок действия продлен»
№2 от 01.01.1986 (рег. 21.06.1985) «Срок действия продлен»
№3 от 01.01.1988 (рег. 21.05.1987) «Срок действия продлен»
№4 от 01.01.1988 (рег. 21.09.1987) «Срок действия продлен»
№5 от 01.07.1990 (рег. 21.02.1990) «Срок действия продлен»
ГОСТ 14695-80ГОСТ 14695-80ГОСТ 14695-80ГОСТ 14695-80ГОСТ 14695-80ГОСТ 14695-80ГОСТ 14695-80ГОСТ 14695-80ГОСТ 14695-80ГОСТ 14695-80ГОСТ 14695-80ГОСТ 14695-80ГОСТ 14695-80ГОСТ 14695-80ГОСТ 14695-80ГОСТ 14695-80ГОСТ 14695-80ГОСТ 14695-80ГОСТ 14695-80ГОСТ 14695-80ГОСТ 14695-80ГОСТ 14695-80ГОСТ 14695-80ГОСТ 14695-80ГОСТ 14695-80ГОСТ 14695-80ГОСТ 14695-80ГОСТ 14695-80ГОСТ 14695-80ГОСТ 14695-80ГОСТ 14695-80
 




ГОСТЫ, СТРОИТЕЛЬНЫЕ и ТЕХНИЧЕСКИЕ НОРМАТИВЫ.
Некоммерческая онлайн система, содержащая все Российские Госты, национальные Стандарты и нормативы.
В Системе содержится более 150000 файлов нормативно-технической документации, действующей на территории РФ.
Система предназначена для широкого круга инженерно-технических специалистов.

Рейтинг@Mail.ru Яндекс цитирования

Copyright © www.gostrf.com, 2008 - 2026