Крупнейшая бесплатная информационно-справочная система онлайн доступа к полному собранию технических нормативно-правовых актов РФ. Огромная база технических нормативов (более 150 тысяч документов) и полное собрание национальных стандартов, аутентичное официальной базе Госстандарта. GOSTRF.com - это более 1 Терабайта бесплатной технической информации для всех пользователей интернета. Все электронные копии представленных здесь документов могут распространяться без каких-либо ограничений. Поощряется распространение информации с этого сайта на любых других ресурсах. Каждый человек имеет право на неограниченный доступ к этим документам! Каждый человек имеет право на знание требований, изложенных в данных нормативно-правовых актах!

  


 

ГОСТ 23560-79

Шинели для суворовцев, воспитанников военно-музыкальных школ и нахимовцев. Технические условия

Обозначение:ГОСТ 23560-79
Текущий статус документа: действующий
Название документа рус.:Шинели для суворовцев, воспитанников военно-музыкальных школ и нахимовцев. Технические условия
Название документа англ.:Greatcoats for pupils of Suvorov military colleges, military musical colleges and Nakhimov naval college. Specifications
Дата актуализации текста:01.12.2013
Дата издания:01.02.1984
Дата введения:30.06.1980
Дата последнего изменения:22.05.2013
Переиздание:переиздание с изм. 1
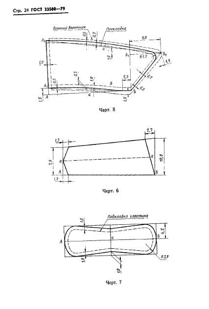
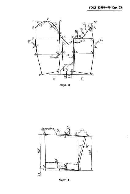
Область применения:Настоящий стандарт распространяется на суконные шинели для суворовцев, нахимовцев, воспитанников военно-музыкальных училищ и учащихся специальных школ-интернатов
Список изменений:№1 от 01.02.1984 (рег. 16.09.1983) «Срок действия продлен»
№2 от 01.07.1990 (рег. 15.11.1989) «Срок действия продлен»
ГОСТ 23560-79ГОСТ 23560-79ГОСТ 23560-79ГОСТ 23560-79ГОСТ 23560-79ГОСТ 23560-79ГОСТ 23560-79ГОСТ 23560-79ГОСТ 23560-79ГОСТ 23560-79ГОСТ 23560-79ГОСТ 23560-79ГОСТ 23560-79ГОСТ 23560-79ГОСТ 23560-79ГОСТ 23560-79ГОСТ 23560-79ГОСТ 23560-79ГОСТ 23560-79ГОСТ 23560-79ГОСТ 23560-79ГОСТ 23560-79ГОСТ 23560-79ГОСТ 23560-79ГОСТ 23560-79ГОСТ 23560-79ГОСТ 23560-79ГОСТ 23560-79ГОСТ 23560-79ГОСТ 23560-79ГОСТ 23560-79ГОСТ 23560-79ГОСТ 23560-79ГОСТ 23560-79ГОСТ 23560-79
 




ГОСТЫ, СТРОИТЕЛЬНЫЕ и ТЕХНИЧЕСКИЕ НОРМАТИВЫ.
Некоммерческая онлайн система, содержащая все Российские Госты, национальные Стандарты и нормативы.
В Системе содержится более 150000 файлов нормативно-технической документации, действующей на территории РФ.
Система предназначена для широкого круга инженерно-технических специалистов.

Рейтинг@Mail.ru Яндекс цитирования

Copyright © www.gostrf.com, 2008 - 2026