Крупнейшая бесплатная информационно-справочная система онлайн доступа к полному собранию технических нормативно-правовых актов РФ. Огромная база технических нормативов (более 150 тысяч документов) и полное собрание национальных стандартов, аутентичное официальной базе Госстандарта. GOSTRF.com - это более 1 Терабайта бесплатной технической информации для всех пользователей интернета. Все электронные копии представленных здесь документов могут распространяться без каких-либо ограничений. Поощряется распространение информации с этого сайта на любых других ресурсах. Каждый человек имеет право на неограниченный доступ к этим документам! Каждый человек имеет право на знание требований, изложенных в данных нормативно-правовых актах!

  


 

ГОСТ 23486-79

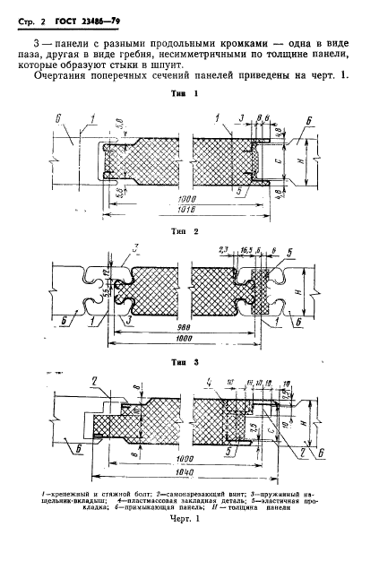
Панели металлические трехслойные стеновые с утеплителем из пенополиуретана. Технические условия

Обозначение:ГОСТ 23486-79
Текущий статус документа: действующий
Название документа рус.:Панели металлические трехслойные стеновые с утеплителем из пенополиуретана. Технические условия
Название документа англ.:Wall metal-faced sandwich panels with polyurethane foam thermal insulation. Specifications
Дата актуализации текста:01.12.2013
Дата издания:30.08.1979
Дата введения:01.01.1980
Дата последнего изменения:22.05.2013
Область применения:Настоящий стандарт распространяется на металлические трехслойные панели с утеплителем из заливочного пенополиуретана, изготовляемые механизированными способами (непрерывным или стендовым) и предназначаемые для стен производственных зданий промышленных предприятий, эксплуатируемых в неагрессивных, слабоагрессивных, среднеагрессивных средах при температуре наружной поверхности панели от минус 65 до плюс 75 град. С, температуре внутренней поверхности панели до плюс 30 град. С, относительной влажности воздуха внутри помещений не более 60 %
ГОСТ 23486-79ГОСТ 23486-79ГОСТ 23486-79ГОСТ 23486-79ГОСТ 23486-79ГОСТ 23486-79ГОСТ 23486-79ГОСТ 23486-79ГОСТ 23486-79ГОСТ 23486-79ГОСТ 23486-79ГОСТ 23486-79ГОСТ 23486-79ГОСТ 23486-79ГОСТ 23486-79ГОСТ 23486-79ГОСТ 23486-79ГОСТ 23486-79ГОСТ 23486-79
 




ГОСТЫ, СТРОИТЕЛЬНЫЕ и ТЕХНИЧЕСКИЕ НОРМАТИВЫ.
Некоммерческая онлайн система, содержащая все Российские Госты, национальные Стандарты и нормативы.
В Системе содержится более 150000 файлов нормативно-технической документации, действующей на территории РФ.
Система предназначена для широкого круга инженерно-технических специалистов.

Рейтинг@Mail.ru Яндекс цитирования

Copyright © www.gostrf.com, 2008 - 2026