Крупнейшая бесплатная информационно-справочная система онлайн доступа к полному собранию технических нормативно-правовых актов РФ. Огромная база технических нормативов (более 150 тысяч документов) и полное собрание национальных стандартов, аутентичное официальной базе Госстандарта. GOSTRF.com - это более 1 Терабайта бесплатной технической информации для всех пользователей интернета. Все электронные копии представленных здесь документов могут распространяться без каких-либо ограничений. Поощряется распространение информации с этого сайта на любых других ресурсах. Каждый человек имеет право на неограниченный доступ к этим документам! Каждый человек имеет право на знание требований, изложенных в данных нормативно-правовых актах!

  


 

ГОСТ 2270-78

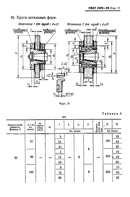
Инструмент абразивный. Основные размеры элементов крепления

Обозначение:ГОСТ 2270-78
Текущий статус документа: действующий
Название документа рус.:Инструмент абразивный. Основные размеры элементов крепления
Название документа англ.:Abrasive tool. Main dimensions of fixing elements
Дата актуализации текста:01.12.2013
Дата издания:01.12.1985
Дата введения:30.06.1979
Дата последнего изменения:22.05.2013
Переиздание:переиздание
Область применения:Настоящий стандарт распространяется на элементы крепления абразивного инструмента. Стандарт не распространяется на элементы крепления абразивного инструмента с встроенными механизмами для балансирования, на элементы крепления кругов типов ПР, ПН и С, а также кругов, эксплуатируемых с окружной скоростью свыше 60 м/с
ГОСТ 2270-78ГОСТ 2270-78ГОСТ 2270-78ГОСТ 2270-78ГОСТ 2270-78ГОСТ 2270-78ГОСТ 2270-78ГОСТ 2270-78ГОСТ 2270-78ГОСТ 2270-78ГОСТ 2270-78ГОСТ 2270-78ГОСТ 2270-78ГОСТ 2270-78ГОСТ 2270-78ГОСТ 2270-78ГОСТ 2270-78ГОСТ 2270-78
 




ГОСТЫ, СТРОИТЕЛЬНЫЕ и ТЕХНИЧЕСКИЕ НОРМАТИВЫ.
Некоммерческая онлайн система, содержащая все Российские Госты, национальные Стандарты и нормативы.
В Системе содержится более 150000 файлов нормативно-технической документации, действующей на территории РФ.
Система предназначена для широкого круга инженерно-технических специалистов.

Рейтинг@Mail.ru Яндекс цитирования

Copyright © www.gostrf.com, 2008 - 2026