Крупнейшая бесплатная информационно-справочная система онлайн доступа к полному собранию технических нормативно-правовых актов РФ. Огромная база технических нормативов (более 150 тысяч документов) и полное собрание национальных стандартов, аутентичное официальной базе Госстандарта. GOSTRF.com - это более 1 Терабайта бесплатной технической информации для всех пользователей интернета. Все электронные копии представленных здесь документов могут распространяться без каких-либо ограничений. Поощряется распространение информации с этого сайта на любых других ресурсах. Каждый человек имеет право на неограниченный доступ к этим документам! Каждый человек имеет право на знание требований, изложенных в данных нормативно-правовых актах!

  


 

ГОСТ 23102-78

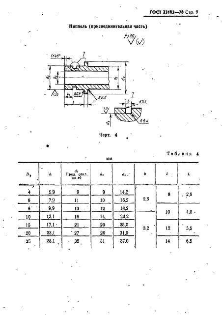
Патрубки присоединительные бортовой малогабаритной арматуры. Конструкция и размеры

Обозначение:ГОСТ 23102-78
Текущий статус документа: действующий
Название документа рус.:Патрубки присоединительные бортовой малогабаритной арматуры. Конструкция и размеры
Название документа англ.:Connecting branches of smallsized board pipe fitting. Construction and dimensions
Дата актуализации текста:01.12.2013
Дата издания:01.10.1984
Дата введения:30.06.1979
Дата последнего изменения:22.05.2013
Переиздание:переиздание с изм. 1
Область применения:Настоящий стандарт распространяется на присоединительные патрубки бортовой малогабаритной арматуры с условным проходом Dy от 2 до 25 мм и давлением рабочей среды до Py 4,0 МПа (40 кгс/см кв.), применяемые для соединения арматуры с трубопроводами.
Стандарт не распространяется на патрубки арматуры, применяемой в судовых и корабельных системах
Список изменений:№1 от 01.12.1980 (рег. 22.07.1980) «Срок действия продлен»
№2 от 01.07.1984 (рег. 28.03.1984) «Срок действия продлен»
№3 от 01.07.1989 (рег. 19.12.1988) «Срок действия продлен»
ГОСТ 23102-78ГОСТ 23102-78ГОСТ 23102-78ГОСТ 23102-78ГОСТ 23102-78ГОСТ 23102-78ГОСТ 23102-78ГОСТ 23102-78ГОСТ 23102-78ГОСТ 23102-78ГОСТ 23102-78ГОСТ 23102-78ГОСТ 23102-78
 




ГОСТЫ, СТРОИТЕЛЬНЫЕ и ТЕХНИЧЕСКИЕ НОРМАТИВЫ.
Некоммерческая онлайн система, содержащая все Российские Госты, национальные Стандарты и нормативы.
В Системе содержится более 150000 файлов нормативно-технической документации, действующей на территории РФ.
Система предназначена для широкого круга инженерно-технических специалистов.

Рейтинг@Mail.ru Яндекс цитирования

Copyright © www.gostrf.com, 2008 - 2026