Крупнейшая бесплатная информационно-справочная система онлайн доступа к полному собранию технических нормативно-правовых актов РФ. Огромная база технических нормативов (более 150 тысяч документов) и полное собрание национальных стандартов, аутентичное официальной базе Госстандарта. GOSTRF.com - это более 1 Терабайта бесплатной технической информации для всех пользователей интернета. Все электронные копии представленных здесь документов могут распространяться без каких-либо ограничений. Поощряется распространение информации с этого сайта на любых других ресурсах. Каждый человек имеет право на неограниченный доступ к этим документам! Каждый человек имеет право на знание требований, изложенных в данных нормативно-правовых актах!

  


 

ГОСТ 23106-78

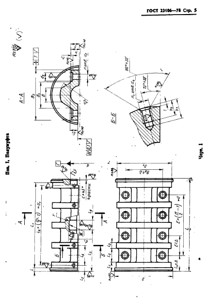
Муфты продольно-свертные. Основные параметры. Конструкция и размеры

Обозначение:ГОСТ 23106-78
Текущий статус документа: действует только в РФ
Название документа рус.:Муфты продольно-свертные. Основные параметры. Конструкция и размеры
Название документа англ.:Longitudinal screw cap couplings. Basic parameters. Design and dimensions
Дата актуализации текста:01.12.2013
Дата издания:01.06.1980
Дата введения:01.01.1979
Дата последнего изменения:22.05.2013
Переиздание:переиздание
Взамен:МН 2600-61 МН 2601-61
Область применения:Настоящий стандарт распространяется на муфты продольно-свертные для соединения цилиндрических валов по ГОСТ 12080-66 при передаче крутящего момента от 125 до 12500 Нюм без смягчения динамических нагрузок и компенсации смещений, климатических исполнений У и Т и категорий 1, 2, 3 и климатических исполнений УХЛ и О категории 4 по ГОСТ 15150-69
Список изменений:№1 от 01.04.1984 (рег. 27.10.1983) «Срок действия продлен»
№2 от 01.01.1990 (рег. 28.03.1989) «Срок действия продлен»
ГОСТ 23106-78ГОСТ 23106-78ГОСТ 23106-78ГОСТ 23106-78ГОСТ 23106-78ГОСТ 23106-78ГОСТ 23106-78ГОСТ 23106-78ГОСТ 23106-78ГОСТ 23106-78ГОСТ 23106-78ГОСТ 23106-78ГОСТ 23106-78ГОСТ 23106-78ГОСТ 23106-78ГОСТ 23106-78ГОСТ 23106-78ГОСТ 23106-78ГОСТ 23106-78ГОСТ 23106-78ГОСТ 23106-78
 




ГОСТЫ, СТРОИТЕЛЬНЫЕ и ТЕХНИЧЕСКИЕ НОРМАТИВЫ.
Некоммерческая онлайн система, содержащая все Российские Госты, национальные Стандарты и нормативы.
В Системе содержится более 150000 файлов нормативно-технической документации, действующей на территории РФ.
Система предназначена для широкого круга инженерно-технических специалистов.

Рейтинг@Mail.ru Яндекс цитирования

Copyright © www.gostrf.com, 2008 - 2026