Крупнейшая бесплатная информационно-справочная система онлайн доступа к полному собранию технических нормативно-правовых актов РФ. Огромная база технических нормативов (более 150 тысяч документов) и полное собрание национальных стандартов, аутентичное официальной базе Госстандарта. GOSTRF.com - это более 1 Терабайта бесплатной технической информации для всех пользователей интернета. Все электронные копии представленных здесь документов могут распространяться без каких-либо ограничений. Поощряется распространение информации с этого сайта на любых других ресурсах. Каждый человек имеет право на неограниченный доступ к этим документам! Каждый человек имеет право на знание требований, изложенных в данных нормативно-правовых актах!

  


 

ГОСТ 22962-78

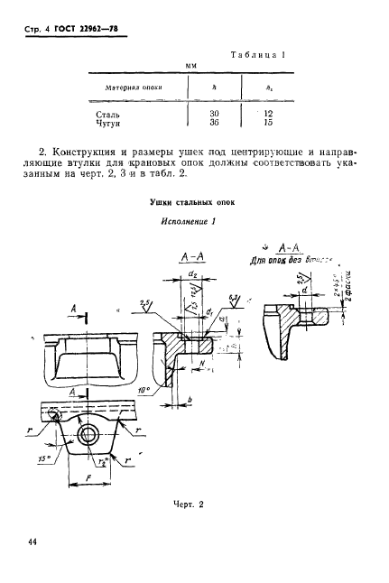
Ушки литейных цельнолитых стальных и чугунных опок под центрирующие и направляющие втулки. Конструкция и размеры

Обозначение:ГОСТ 22962-78
Текущий статус документа: действующий
Название документа рус.:Ушки литейных цельнолитых стальных и чугунных опок под центрирующие и направляющие втулки. Конструкция и размеры
Название документа англ.:Lugs of all-cast steel and iron moulding boxes for centering and guide bushes. Construction and dimensions
Дата актуализации текста:01.12.2013
Дата издания:23.05.1978
Дата введения:01.01.1979
Дата последнего изменения:22.05.2013
Взамен:МН 155-59
Область применения:Настоящий стандарт устанавливает конструкцию и размеры ушек под центрирующие и направляющие втулки для ручных опок
ГОСТ 22962-78ГОСТ 22962-78ГОСТ 22962-78ГОСТ 22962-78ГОСТ 22962-78ГОСТ 22962-78ГОСТ 22962-78ГОСТ 22962-78ГОСТ 22962-78ГОСТ 22962-78ГОСТ 22962-78
 




ГОСТЫ, СТРОИТЕЛЬНЫЕ и ТЕХНИЧЕСКИЕ НОРМАТИВЫ.
Некоммерческая онлайн система, содержащая все Российские Госты, национальные Стандарты и нормативы.
В Системе содержится более 150000 файлов нормативно-технической документации, действующей на территории РФ.
Система предназначена для широкого круга инженерно-технических специалистов.

Рейтинг@Mail.ru Яндекс цитирования

Copyright © www.gostrf.com, 2008 - 2026