Крупнейшая бесплатная информационно-справочная система онлайн доступа к полному собранию технических нормативно-правовых актов РФ. Огромная база технических нормативов (более 150 тысяч документов) и полное собрание национальных стандартов, аутентичное официальной базе Госстандарта. GOSTRF.com - это более 1 Терабайта бесплатной технической информации для всех пользователей интернета. Все электронные копии представленных здесь документов могут распространяться без каких-либо ограничений. Поощряется распространение информации с этого сайта на любых других ресурсах. Каждый человек имеет право на неограниченный доступ к этим документам! Каждый человек имеет право на знание требований, изложенных в данных нормативно-правовых актах!

  


 

ГОСТ 5890-78

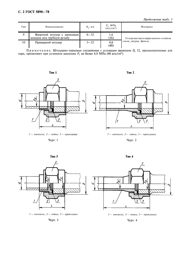
Соединения труб штуцерно-торцовые. Технические условия

Обозначение:ГОСТ 5890-78
Текущий статус документа: действующий
Название документа рус.:Соединения труб штуцерно-торцовые. Технические условия
Название документа англ.:Pipe connection with screwed ends. Specifications
Дата актуализации текста:01.12.2013
Дата издания:01.07.1998
Дата введения:30.06.1979
Дата последнего изменения:22.05.2013
Переиздание:переиздание с изм. 1
Область применения:Настоящий стандарт распространяется на штуцерно-торцовые соединения труб и штуцера с условным давлением Ру до 10 МПа (до 100 кгс/см. кв.), применяемые в трубопроводах кораблей, судов и плавсредств, в том числе для экспорта
Список изменений:№1 от 01.07.1984 (рег. 15.12.1983) «Срок действия продлен»
№2 от 01.04.1986 (рег. 31.10.1985) «Срок действия продлен»
№3 от 01.07.1989 (рег. 29.11.1988) «Срок действия продлен»
ГОСТ 5890-78ГОСТ 5890-78ГОСТ 5890-78ГОСТ 5890-78ГОСТ 5890-78ГОСТ 5890-78ГОСТ 5890-78ГОСТ 5890-78ГОСТ 5890-78ГОСТ 5890-78ГОСТ 5890-78
 




ГОСТЫ, СТРОИТЕЛЬНЫЕ и ТЕХНИЧЕСКИЕ НОРМАТИВЫ.
Некоммерческая онлайн система, содержащая все Российские Госты, национальные Стандарты и нормативы.
В Системе содержится более 150000 файлов нормативно-технической документации, действующей на территории РФ.
Система предназначена для широкого круга инженерно-технических специалистов.

Рейтинг@Mail.ru Яндекс цитирования

Copyright © www.gostrf.com, 2008 - 2026