Крупнейшая бесплатная информационно-справочная система онлайн доступа к полному собранию технических нормативно-правовых актов РФ. Огромная база технических нормативов (более 150 тысяч документов) и полное собрание национальных стандартов, аутентичное официальной базе Госстандарта. GOSTRF.com - это более 1 Терабайта бесплатной технической информации для всех пользователей интернета. Все электронные копии представленных здесь документов могут распространяться без каких-либо ограничений. Поощряется распространение информации с этого сайта на любых других ресурсах. Каждый человек имеет право на неограниченный доступ к этим документам! Каждый человек имеет право на знание требований, изложенных в данных нормативно-правовых актах!

  


 

ГОСТ 17020-78

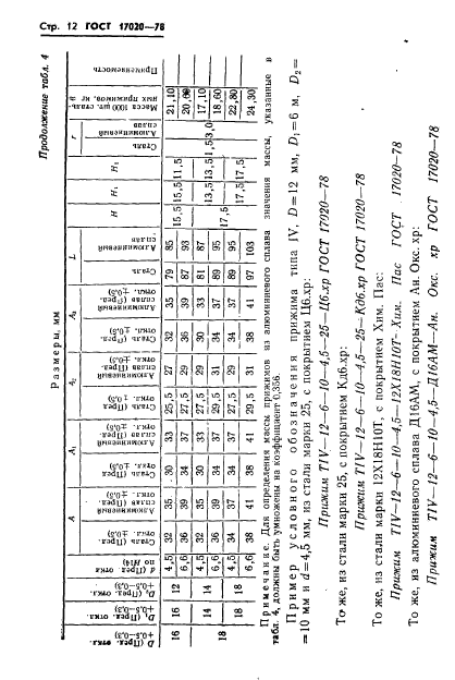
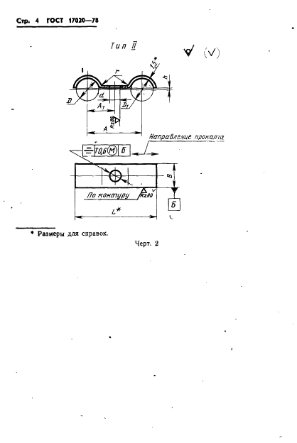
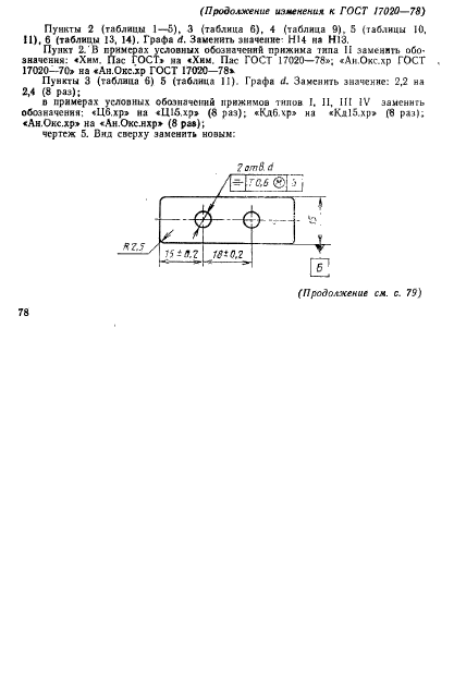
Прижимы, держатели и пояски для крепления трубопроводов и кабелей. Конструкция и размеры

Обозначение:ГОСТ 17020-78
Текущий статус документа: действующий
Название документа рус.:Прижимы, держатели и пояски для крепления трубопроводов и кабелей. Конструкция и размеры
Название документа англ.:Clamps, holders and belts for fixing of pipelines and cables. Design and sizes
Дата актуализации текста:01.12.2013
Дата издания:01.08.1983
Дата введения:01.01.1979
Дата последнего изменения:22.05.2013
Переиздание:переиздание с изм. 1
Область применения:Настоящий стандарт распространяется на прижимы, держатели и пояски для крепления трубопроводов и кабелей и устанавливает их конструкцию и размеры
Список изменений:№1 от 01.08.1983 (рег. 31.03.1983) «Срок действия продлен»
№2 от 01.01.1989 (рег. 14.01.1988) «Срок действия продлен»
ГОСТ 17020-78ГОСТ 17020-78ГОСТ 17020-78ГОСТ 17020-78ГОСТ 17020-78ГОСТ 17020-78ГОСТ 17020-78ГОСТ 17020-78ГОСТ 17020-78ГОСТ 17020-78ГОСТ 17020-78ГОСТ 17020-78ГОСТ 17020-78ГОСТ 17020-78ГОСТ 17020-78ГОСТ 17020-78ГОСТ 17020-78ГОСТ 17020-78ГОСТ 17020-78ГОСТ 17020-78ГОСТ 17020-78ГОСТ 17020-78ГОСТ 17020-78ГОСТ 17020-78ГОСТ 17020-78ГОСТ 17020-78ГОСТ 17020-78ГОСТ 17020-78ГОСТ 17020-78ГОСТ 17020-78ГОСТ 17020-78ГОСТ 17020-78ГОСТ 17020-78ГОСТ 17020-78ГОСТ 17020-78ГОСТ 17020-78ГОСТ 17020-78ГОСТ 17020-78ГОСТ 17020-78ГОСТ 17020-78ГОСТ 17020-78ГОСТ 17020-78ГОСТ 17020-78ГОСТ 17020-78
 




ГОСТЫ, СТРОИТЕЛЬНЫЕ и ТЕХНИЧЕСКИЕ НОРМАТИВЫ.
Некоммерческая онлайн система, содержащая все Российские Госты, национальные Стандарты и нормативы.
В Системе содержится более 150000 файлов нормативно-технической документации, действующей на территории РФ.
Система предназначена для широкого круга инженерно-технических специалистов.

Рейтинг@Mail.ru Яндекс цитирования

Copyright © www.gostrf.com, 2008 - 2026