Крупнейшая бесплатная информационно-справочная система онлайн доступа к полному собранию технических нормативно-правовых актов РФ. Огромная база технических нормативов (более 150 тысяч документов) и полное собрание национальных стандартов, аутентичное официальной базе Госстандарта. GOSTRF.com - это более 1 Терабайта бесплатной технической информации для всех пользователей интернета. Все электронные копии представленных здесь документов могут распространяться без каких-либо ограничений. Поощряется распространение информации с этого сайта на любых других ресурсах. Каждый человек имеет право на неограниченный доступ к этим документам! Каждый человек имеет право на знание требований, изложенных в данных нормативно-правовых актах!

  


 

ГОСТ 22394-77

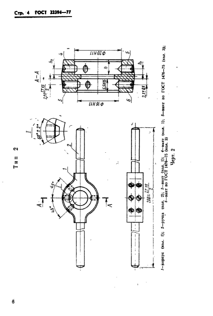
Воротки для круглых плашек диаметрами 16 и 20 мм. Типы и основные параметры

Обозначение:ГОСТ 22394-77
Текущий статус документа: действующий
Название документа рус.:Воротки для круглых плашек диаметрами 16 и 20 мм. Типы и основные параметры
Название документа англ.:Stocks for round dies diameters 16 and 20 mm. Types and basic dimensions
Дата актуализации текста:01.12.2013
Дата издания:06.06.1977
Дата введения:01.01.1979
Дата последнего изменения:22.05.2013
Взамен:МН 522-60
Область применения:Настоящий стандарт распространяется на воротки для круглых плашек типа 2 по ГОСТ 9740-71 с наружными диаметрами 16 и 20 мм
ГОСТ 22394-77ГОСТ 22394-77ГОСТ 22394-77ГОСТ 22394-77ГОСТ 22394-77ГОСТ 22394-77ГОСТ 22394-77ГОСТ 22394-77ГОСТ 22394-77ГОСТ 22394-77ГОСТ 22394-77ГОСТ 22394-77
 




ГОСТЫ, СТРОИТЕЛЬНЫЕ и ТЕХНИЧЕСКИЕ НОРМАТИВЫ.
Некоммерческая онлайн система, содержащая все Российские Госты, национальные Стандарты и нормативы.
В Системе содержится более 150000 файлов нормативно-технической документации, действующей на территории РФ.
Система предназначена для широкого круга инженерно-технических специалистов.

Рейтинг@Mail.ru Яндекс цитирования

Copyright © www.gostrf.com, 2008 - 2026