Крупнейшая бесплатная информационно-справочная система онлайн доступа к полному собранию технических нормативно-правовых актов РФ. Огромная база технических нормативов (более 150 тысяч документов) и полное собрание национальных стандартов, аутентичное официальной базе Госстандарта. GOSTRF.com - это более 1 Терабайта бесплатной технической информации для всех пользователей интернета. Все электронные копии представленных здесь документов могут распространяться без каких-либо ограничений. Поощряется распространение информации с этого сайта на любых других ресурсах. Каждый человек имеет право на неограниченный доступ к этим документам! Каждый человек имеет право на знание требований, изложенных в данных нормативно-правовых актах!

  


 

ГОСТ 22706-77

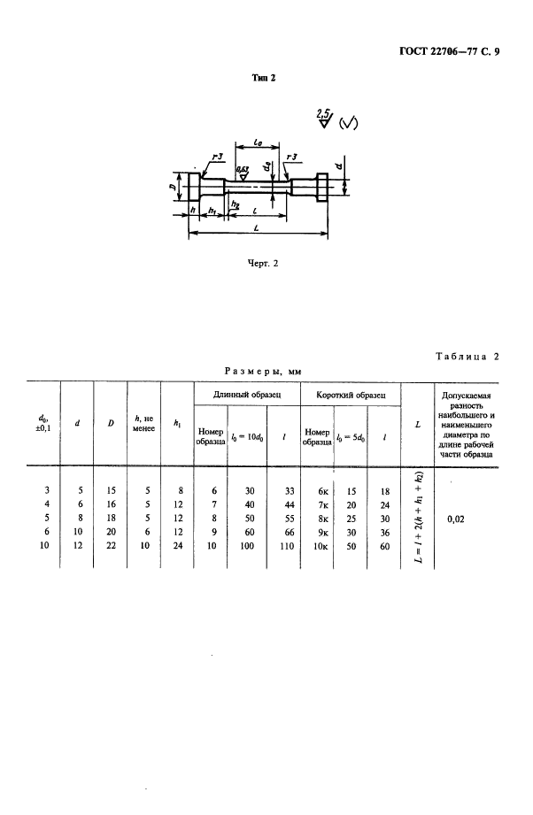
Металлы. Метод испытания на растяжение при температурах от минус 100 до минус 269 град. С

Обозначение:ГОСТ 22706-77
Текущий статус документа: действующий
Название документа рус.:Металлы. Метод испытания на растяжение при температурах от минус 100 до минус 269 град. С
Название документа англ.:Metals. Method for tension tests at the temperature - 100 up to - 269 deg. C
Дата актуализации текста:01.12.2013
Дата издания:01.08.2000
Дата введения:01.01.1979
Дата последнего изменения:22.05.2013
Переиздание:переиздание с изм. 1
Область применения:Настоящий стандарт распространяется на черные и цветные металлы, сплавы и изделия из них и устанавливает метод статического испытания на растяжение для определения при температурах от минус 100 до минус 269 град. С следующих механических характеристик:
- предела пропорциональности;
- предела упругости;
- предела текучести физического;
- предела текучести условного;
- временного сопротивления;
- относительного равномерного удлинения;
- относительного удлинения после разрыва;
- относительного сужения поперечного сечения после разрыва.
Стандарт не устанавливает метод статического испытания на растяжение проволоки, труб, листового металла и ленты толщиной менее 0,5 мм
Список изменений:№1 от 01.09.1988 (рег. 05.04.1988) «Срок действия продлен»
ГОСТ 22706-77ГОСТ 22706-77ГОСТ 22706-77ГОСТ 22706-77ГОСТ 22706-77ГОСТ 22706-77ГОСТ 22706-77ГОСТ 22706-77ГОСТ 22706-77ГОСТ 22706-77ГОСТ 22706-77ГОСТ 22706-77ГОСТ 22706-77ГОСТ 22706-77ГОСТ 22706-77ГОСТ 22706-77ГОСТ 22706-77ГОСТ 22706-77ГОСТ 22706-77
 




ГОСТЫ, СТРОИТЕЛЬНЫЕ и ТЕХНИЧЕСКИЕ НОРМАТИВЫ.
Некоммерческая онлайн система, содержащая все Российские Госты, национальные Стандарты и нормативы.
В Системе содержится более 150000 файлов нормативно-технической документации, действующей на территории РФ.
Система предназначена для широкого круга инженерно-технических специалистов.

Рейтинг@Mail.ru Яндекс цитирования

Copyright © www.gostrf.com, 2008 - 2026