Крупнейшая бесплатная информационно-справочная система онлайн доступа к полному собранию технических нормативно-правовых актов РФ. Огромная база технических нормативов (более 150 тысяч документов) и полное собрание национальных стандартов, аутентичное официальной базе Госстандарта. GOSTRF.com - это более 1 Терабайта бесплатной технической информации для всех пользователей интернета. Все электронные копии представленных здесь документов могут распространяться без каких-либо ограничений. Поощряется распространение информации с этого сайта на любых других ресурсах. Каждый человек имеет право на неограниченный доступ к этим документам! Каждый человек имеет право на знание требований, изложенных в данных нормативно-правовых актах!

  


 

ГОСТ 21761-76

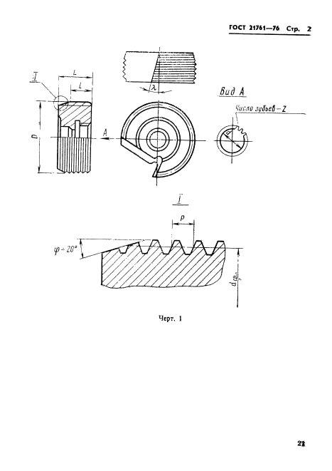
Гребенки круглые к винторезным самооткрывающимся головкам. Основные размеры

Обозначение:ГОСТ 21761-76
Текущий статус документа: действующий
Название документа рус.:Гребенки круглые к винторезным самооткрывающимся головкам. Основные размеры
Название документа англ.:Circular chasers for self-opening threadcutting die heads. Main dimensions
Дата актуализации текста:01.12.2013
Дата издания:01.09.1982
Дата введения:01.01.1978
Дата последнего изменения:22.05.2013
Переиздание:переиздание
Взамен:МН 4268-63 МН 4269-63 МН 4270-63 МН 4271-63 МН 4272-63
Область применения:Настоящий стандарт распространяется на круглые гребенки к винторезным самооткрывающимся головкам
ГОСТ 21761-76ГОСТ 21761-76ГОСТ 21761-76ГОСТ 21761-76ГОСТ 21761-76ГОСТ 21761-76ГОСТ 21761-76ГОСТ 21761-76ГОСТ 21761-76ГОСТ 21761-76
 




ГОСТЫ, СТРОИТЕЛЬНЫЕ и ТЕХНИЧЕСКИЕ НОРМАТИВЫ.
Некоммерческая онлайн система, содержащая все Российские Госты, национальные Стандарты и нормативы.
В Системе содержится более 150000 файлов нормативно-технической документации, действующей на территории РФ.
Система предназначена для широкого круга инженерно-технических специалистов.

Рейтинг@Mail.ru Яндекс цитирования

Copyright © www.gostrf.com, 2008 - 2026