Крупнейшая бесплатная информационно-справочная система онлайн доступа к полному собранию технических нормативно-правовых актов РФ. Огромная база технических нормативов (более 150 тысяч документов) и полное собрание национальных стандартов, аутентичное официальной базе Госстандарта. GOSTRF.com - это более 1 Терабайта бесплатной технической информации для всех пользователей интернета. Все электронные копии представленных здесь документов могут распространяться без каких-либо ограничений. Поощряется распространение информации с этого сайта на любых других ресурсах. Каждый человек имеет право на неограниченный доступ к этим документам! Каждый человек имеет право на знание требований, изложенных в данных нормативно-правовых актах!

  


 

ГОСТ 13.1.106-76

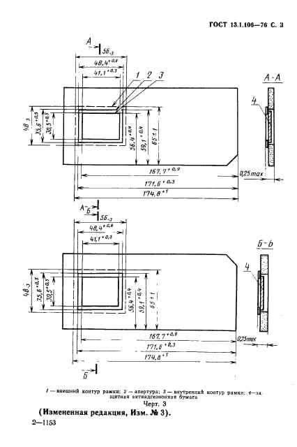
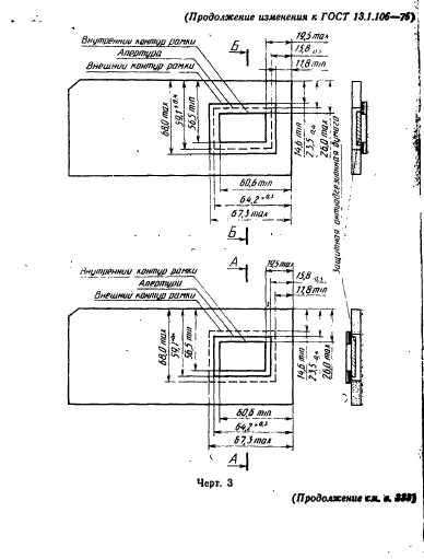
Репрография. Микрография. Карты апертурные. Общие технические условия

Обозначение:ГОСТ 13.1.106-76
Текущий статус документа: действующий
Название документа рус.:Репрография. Микрография. Карты апертурные. Общие технические условия
Название документа англ.:Reprography. Micrography. Cards with picture aperture. General specifications
Дата актуализации текста:01.12.2013
Дата издания:01.06.1987
Дата введения:30.06.1977
Дата последнего изменения:22.05.2013
Переиздание:переиздание с изм. 1
Область применения:Настоящий стандарт распространяется на апертурные карты, выполненные на основе перфорационных карт для электронных вычислительных машин
Список изменений:№1 от 01.04.1981 (рег. 01.04.1981) «Срок действия продлен»
№2 от 01.01.1983 (рег. 26.01.1982) «Срок действия продлен»
№3 от 01.02.1983 (рег. 01.02.1983) «Срок действия продлен»
№4 от 01.07.1987 (рег. 26.06.1987) «Срок действия продлен»
№5 от 01.01.1991 (рег. 25.04.1990) «Срок действия продлен»
ГОСТ 13.1.106-76ГОСТ 13.1.106-76ГОСТ 13.1.106-76ГОСТ 13.1.106-76ГОСТ 13.1.106-76ГОСТ 13.1.106-76ГОСТ 13.1.106-76ГОСТ 13.1.106-76ГОСТ 13.1.106-76ГОСТ 13.1.106-76ГОСТ 13.1.106-76ГОСТ 13.1.106-76ГОСТ 13.1.106-76ГОСТ 13.1.106-76ГОСТ 13.1.106-76ГОСТ 13.1.106-76ГОСТ 13.1.106-76ГОСТ 13.1.106-76ГОСТ 13.1.106-76ГОСТ 13.1.106-76ГОСТ 13.1.106-76ГОСТ 13.1.106-76ГОСТ 13.1.106-76ГОСТ 13.1.106-76ГОСТ 13.1.106-76ГОСТ 13.1.106-76ГОСТ 13.1.106-76ГОСТ 13.1.106-76ГОСТ 13.1.106-76
 




ГОСТЫ, СТРОИТЕЛЬНЫЕ и ТЕХНИЧЕСКИЕ НОРМАТИВЫ.
Некоммерческая онлайн система, содержащая все Российские Госты, национальные Стандарты и нормативы.
В Системе содержится более 150000 файлов нормативно-технической документации, действующей на территории РФ.
Система предназначена для широкого круга инженерно-технических специалистов.

Рейтинг@Mail.ru Яндекс цитирования

Copyright © www.gostrf.com, 2008 - 2026