Крупнейшая бесплатная информационно-справочная система онлайн доступа к полному собранию технических нормативно-правовых актов РФ. Огромная база технических нормативов (более 150 тысяч документов) и полное собрание национальных стандартов, аутентичное официальной базе Госстандарта. GOSTRF.com - это более 1 Терабайта бесплатной технической информации для всех пользователей интернета. Все электронные копии представленных здесь документов могут распространяться без каких-либо ограничений. Поощряется распространение информации с этого сайта на любых других ресурсах. Каждый человек имеет право на неограниченный доступ к этим документам! Каждый человек имеет право на знание требований, изложенных в данных нормативно-правовых актах!

  


 

ГОСТ 4668-75

Материалы углеродные. Метод измерения удельного электрического сопротивления порошка

Обозначение:ГОСТ 4668-75
Текущий статус документа: действующий
Название документа рус.:Материалы углеродные. Метод измерения удельного электрического сопротивления порошка
Название документа англ.:Carbonaceous materials. Method of electrical resistance definition of powder
Дата актуализации текста:01.12.2013
Дата издания:01.06.1977
Дата введения:01.01.1977
Дата последнего изменения:22.05.2013
Переиздание:переиздание
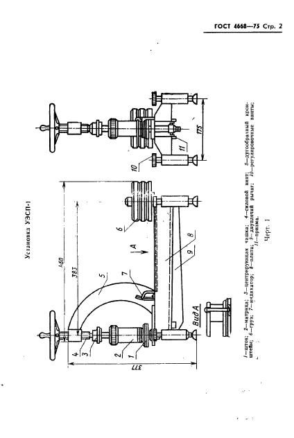
Область применения:Настоящий стандарт распространяется на каменноугольный, нефтяной, пековый и сланцевый коксы, антрацит, термоантрацит и искусственный графит и устанавливает метод измерений удельного электрического сопротивления в интервале от 10 в степени минус 5 до 10 в степени минус 1 Ом Х м
Список изменений:№1 от 01.03.1982 (рег. 24.09.1981) «Срок действия продлен»
№2 от 01.01.1987 (рег. 20.08.1986) «Поправка»
№3 от 01.07.1992 (рег. 03.10.1991) «Срок действия продлен»
ГОСТ 4668-75ГОСТ 4668-75ГОСТ 4668-75ГОСТ 4668-75ГОСТ 4668-75ГОСТ 4668-75ГОСТ 4668-75ГОСТ 4668-75ГОСТ 4668-75ГОСТ 4668-75ГОСТ 4668-75ГОСТ 4668-75ГОСТ 4668-75ГОСТ 4668-75ГОСТ 4668-75ГОСТ 4668-75
 




ГОСТЫ, СТРОИТЕЛЬНЫЕ и ТЕХНИЧЕСКИЕ НОРМАТИВЫ.
Некоммерческая онлайн система, содержащая все Российские Госты, национальные Стандарты и нормативы.
В Системе содержится более 150000 файлов нормативно-технической документации, действующей на территории РФ.
Система предназначена для широкого круга инженерно-технических специалистов.

Рейтинг@Mail.ru Яндекс цитирования

Copyright © www.gostrf.com, 2008 - 2026