Крупнейшая бесплатная информационно-справочная система онлайн доступа к полному собранию технических нормативно-правовых актов РФ. Огромная база технических нормативов (более 150 тысяч документов) и полное собрание национальных стандартов, аутентичное официальной базе Госстандарта. GOSTRF.com - это более 1 Терабайта бесплатной технической информации для всех пользователей интернета. Все электронные копии представленных здесь документов могут распространяться без каких-либо ограничений. Поощряется распространение информации с этого сайта на любых других ресурсах. Каждый человек имеет право на неограниченный доступ к этим документам! Каждый человек имеет право на знание требований, изложенных в данных нормативно-правовых актах!

  


 

ГОСТ 21318-75

Измерение микротвердости царапанием алмазными наконечниками

Обозначение:ГОСТ 21318-75
Текущий статус документа: действующий
Название документа рус.:Измерение микротвердости царапанием алмазными наконечниками
Название документа англ.:Measurement of microhardness by scratch diamond instruments
Дата актуализации текста:01.12.2013
Дата издания:18.02.1976
Дата введения:30.06.1976
Дата последнего изменения:22.05.2013
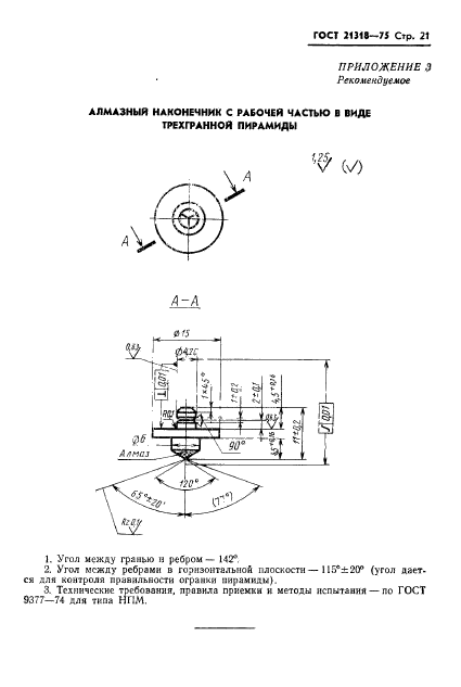
Область применения:Настоящий стандарт устанавливает метод измерения микротвердости царапанием поверхностного слоя (нанесением канавки) четырехгранной или трехгранной алмазной пирамидой под действием нормальной нагрузки от 0,049 до 1,962 Н (от 0,005 до 0,200 кгс).
Стандарт не распространяется:
на измерения микротвердости алмаза и его производных и на случаи, когда ширину канавки невозможно измерить из-за неопределенности контура ее границы
Список изменений:№1 от 01.07.1983 (рег. 08.09.1982) «Срок действия продлен»
ГОСТ 21318-75ГОСТ 21318-75ГОСТ 21318-75ГОСТ 21318-75ГОСТ 21318-75ГОСТ 21318-75ГОСТ 21318-75ГОСТ 21318-75ГОСТ 21318-75ГОСТ 21318-75ГОСТ 21318-75ГОСТ 21318-75ГОСТ 21318-75ГОСТ 21318-75ГОСТ 21318-75ГОСТ 21318-75ГОСТ 21318-75ГОСТ 21318-75ГОСТ 21318-75ГОСТ 21318-75ГОСТ 21318-75ГОСТ 21318-75ГОСТ 21318-75ГОСТ 21318-75ГОСТ 21318-75ГОСТ 21318-75ГОСТ 21318-75ГОСТ 21318-75ГОСТ 21318-75ГОСТ 21318-75
 




ГОСТЫ, СТРОИТЕЛЬНЫЕ и ТЕХНИЧЕСКИЕ НОРМАТИВЫ.
Некоммерческая онлайн система, содержащая все Российские Госты, национальные Стандарты и нормативы.
В Системе содержится более 150000 файлов нормативно-технической документации, действующей на территории РФ.
Система предназначена для широкого круга инженерно-технических специалистов.

Рейтинг@Mail.ru Яндекс цитирования

Copyright © www.gostrf.com, 2008 - 2026