Крупнейшая бесплатная информационно-справочная система онлайн доступа к полному собранию технических нормативно-правовых актов РФ. Огромная база технических нормативов (более 150 тысяч документов) и полное собрание национальных стандартов, аутентичное официальной базе Госстандарта. GOSTRF.com - это более 1 Терабайта бесплатной технической информации для всех пользователей интернета. Все электронные копии представленных здесь документов могут распространяться без каких-либо ограничений. Поощряется распространение информации с этого сайта на любых других ресурсах. Каждый человек имеет право на неограниченный доступ к этим документам! Каждый человек имеет право на знание требований, изложенных в данных нормативно-правовых актах!

  


 

ГОСТ 20966-75

Пластик древесный слоистый марки ДСП-Б-а. Технические условия

Обозначение:ГОСТ 20966-75
Текущий статус документа: действующий
Название документа рус.:Пластик древесный слоистый марки ДСП-Б-а. Технические условия
Название документа англ.:Laminated wood plastic, type ДСП-Б-a. Specifications
Дата актуализации текста:01.12.2013
Дата издания:01.01.1984
Дата введения:01.01.1976
Дата последнего изменения:22.05.2013
Переиздание:переиздание с изм. 1
Взамен в части: в части марки ДСП-Б-а
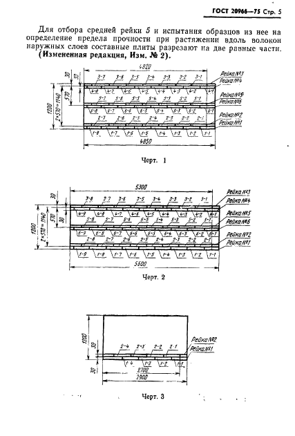
Область применения:Настоящий стандарт распространяется на древесный слоистый пластик марки ДСП-Б-а, изготовленный из листов березового шпона, склеенных бакелитовым лаком в процессе термической обработки под давлением.
Древесный слоистый пластик марки ДСП-Б-а предназначен для использования в силовых нагруженных элементах авиационных конструкций
Список изменений:№0 от 20.07.1983 (рег. 20.07.1983) «Срок действия продлен»
№1 от 01.01.1981 (рег. 20.05.1980) «Срок действия продлен»
№2 от 01.01.1984 (рег. 20.07.1983) «Срок действия продлен»
№3 от 01.04.1985 (рег. 28.09.1984) «Срок действия продлен»
ГОСТ 20966-75ГОСТ 20966-75ГОСТ 20966-75ГОСТ 20966-75ГОСТ 20966-75ГОСТ 20966-75ГОСТ 20966-75ГОСТ 20966-75ГОСТ 20966-75ГОСТ 20966-75ГОСТ 20966-75ГОСТ 20966-75
 




ГОСТЫ, СТРОИТЕЛЬНЫЕ и ТЕХНИЧЕСКИЕ НОРМАТИВЫ.
Некоммерческая онлайн система, содержащая все Российские Госты, национальные Стандарты и нормативы.
В Системе содержится более 150000 файлов нормативно-технической документации, действующей на территории РФ.
Система предназначена для широкого круга инженерно-технических специалистов.

Рейтинг@Mail.ru Яндекс цитирования

Copyright © www.gostrf.com, 2008 - 2026