Крупнейшая бесплатная информационно-справочная система онлайн доступа к полному собранию технических нормативно-правовых актов РФ. Огромная база технических нормативов (более 150 тысяч документов) и полное собрание национальных стандартов, аутентичное официальной базе Госстандарта. GOSTRF.com - это более 1 Терабайта бесплатной технической информации для всех пользователей интернета. Все электронные копии представленных здесь документов могут распространяться без каких-либо ограничений. Поощряется распространение информации с этого сайта на любых других ресурсах. Каждый человек имеет право на неограниченный доступ к этим документам! Каждый человек имеет право на знание требований, изложенных в данных нормативно-правовых актах!

  


 

ГОСТ 444-75

Колчедан серный флотационный. Технические условия

Обозначение:ГОСТ 444-75
Текущий статус документа: действующий
Название документа рус.:Колчедан серный флотационный. Технические условия
Название документа англ.:Flotation pyrite. Specifications
Дата актуализации текста:01.12.2013
Дата издания:01.10.1997
Дата введения:01.01.1977
Дата последнего изменения:22.05.2013
Переиздание:переиздание с изм. 1
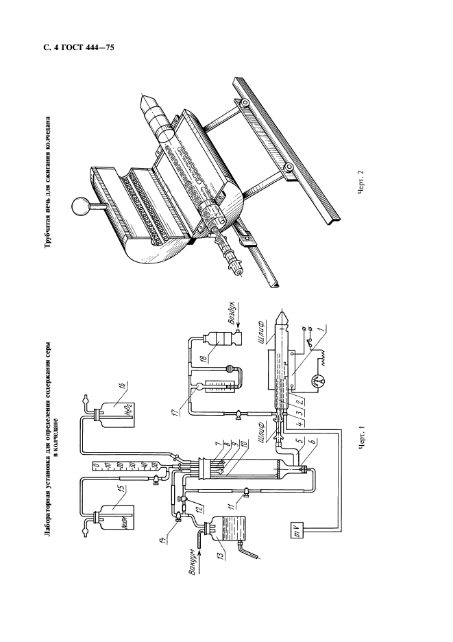
Область применения:Настоящий стандарт распространяется на флотационный серный колчедан, изготовляемый для нужд народного хозяйства и для экспорта и получаемый при флотации пиритсодержащих руд цветных металлов и серного колчедана хвостохранилищ обогатительных фабрик
Список изменений:№1 от 01.05.1981 (рег. 10.02.1981) «Срок действия продлен»
№2 от 01.07.1987 (рег. 30.12.1986) «Срок действия продлен»
№3 от 01.01.1992 (рег. 27.06.1991) «Срок действия продлен»
ГОСТ 444-75ГОСТ 444-75ГОСТ 444-75ГОСТ 444-75ГОСТ 444-75ГОСТ 444-75ГОСТ 444-75ГОСТ 444-75ГОСТ 444-75ГОСТ 444-75ГОСТ 444-75ГОСТ 444-75ГОСТ 444-75ГОСТ 444-75ГОСТ 444-75ГОСТ 444-75ГОСТ 444-75ГОСТ 444-75ГОСТ 444-75ГОСТ 444-75ГОСТ 444-75ГОСТ 444-75ГОСТ 444-75ГОСТ 444-75ГОСТ 444-75ГОСТ 444-75
 




ГОСТЫ, СТРОИТЕЛЬНЫЕ и ТЕХНИЧЕСКИЕ НОРМАТИВЫ.
Некоммерческая онлайн система, содержащая все Российские Госты, национальные Стандарты и нормативы.
В Системе содержится более 150000 файлов нормативно-технической документации, действующей на территории РФ.
Система предназначена для широкого круга инженерно-технических специалистов.

Рейтинг@Mail.ru Яндекс цитирования

Copyright © www.gostrf.com, 2008 - 2026